Избранное 0 Корзина 0 Личный кабинет
logo
Каталог
Каталог
  • Справочник
    • Грузовые автомобили
    • Автобусы
    • Сельхозтехника
    • Спецтехника
    • Двигатели
  • Доставка
  • Оплата
  • О компании
    • Реквизиты
    • Магазины
    • Оплата
    • Доставка
    • Лицензии и сертификаты
    • Новости
    • Вакансии
  • Контакты
Отправить заявку
Личный кабинет
8 (800) 700-35-68
sales@din76.ru
Избранное 0 Корзина 0
8 (800) 700-35-68
Оптовый прайс-лист
Каталог
  • Двигатели
  • Запчасти WEICHAI
  • Запчасти ЯМЗ, ТМЗ (V-образные)
  • Запчасти ЯМЗ-534, ЯМЗ-536
  • Запчасти ЯМЗ-650, ЯМЗ-651, DCi-11
  • Топливная аппаратура
  • Запчасти УРАЛ
  • Запчасти МАЗ
  • Запчасти КамАЗ
  • Запчасти ММЗ
  • Ремни
Автокаталог (справочник)
  • Доставка
  • Оплата
  • О компании
  • Контакты
8 (800) 700-35-68
Написать в Whatsapp
sales@din76.ru
Динамика 76
Меню  
  • Каталог
    • Двигатели  
      • Двигатели ТМЗ  
        • Двигатели ТМЗ для автомобилей
        • Двигатели ТМЗ для тракторов
        • Специальные двигатели ТМЗ
        • Промышленные двигатели ТМЗ
      • Двигатели ЯМЗ  
        • ЯМЗ 236
        • ЯМЗ 238
        • ЯМЗ 240
        • ЯМЗ 751
        • ЯМЗ 840
        • ЯМЗ 850
        • ЯМЗ 656
        • ЯМЗ 658
        • ЯМЗ 534
        • ЯМЗ 536
        • ЯМЗ 650
        • Двигатели ЯМЗ для электростанций
      • Двигатели КАМАЗ
      • Двигатели ММЗ
      • Двигатели индивидуальной сборки
      • Комплекты переоборудования
    • Запчасти WEICHAI  
      • Основные запчасти двигателя  
        • Клапаны и толкатели
        • Шатуны
        • Вал коленчатый и маховик
        • Вал распределительный
        • Цилиндро-поршневая группа
      • Система питания  
        • Форсунки
        • Турбокомпрессор
      • Система смазки  
        • Насос масляный
      • Головка блока
      • Ремкомплекты
      • Система охлаждения  
        • Насос водяной
        • Муфта вязкостная и крыльчатка
      • Фильтры
      • Электрооборудование  
        • Генератор
        • Стартер
    • Запчасти ЯМЗ, ТМЗ (V-образные)  
      • Основные запчасти двигателя  
        • Блок двигателя и комплектующие
        • Валы распределительные и клапаны
        • Головка блока и комплектующие
        • Цилиндро-поршневая группа
        • Маховики и комплектующие
        • Валы коленчатые и комплектующие
        • Шатуны и комплектующие
      • Система питания  
        • Коллекторы и патрубки
        • Топливные трубопроводы
        • Турбокомпрессор
        • Топливные фильтры
      • Электрооборудование двигателя
      • Система охлаждения  
        • Вязкостные муфты и крыльчатки
        • Приводы вентилятора
        • Водяные насосы
        • Водяные трубы и термостаты
      • Коробки переключения передач  
        • 8 Ступенчатые КПП
        • 5 Ступенчатые КПП
        • 9 Ступенчатые КПП
        • Запасные части КПП ЯМЗ, ТМЗ
      • Система смазки  
        • Теплообменник и комплектующие
        • Масляные насосы
        • Фильтры масляные (ФГОМ, ФЦОМ)
      • Сцепление  
        • Запасные части механизма сцепления
        • Муфты (подшипники выжимные)
        • Корзины (диски нажимные)
        • Диски ведомые
      • Прочие запчасти двигателя  
        • Ремкомплекты
        • Привод агрегатов
        • Натяжные устройства
        • Трубки
    • Запчасти ЯМЗ-534, ЯМЗ-536  
      • Основные запчасти двигателя  
        • Цилиндро-поршневая группа
        • Головка блока цилиндров и комплектующие
        • Блок цилиндров и комплектующие
        • Вал коленчатый и маховик
        • Вал распределительный
        • Клапаны и толкатели
        • ГУР (Гидроусилитель руля)
        • Система рециркуляции отработавших газов
        • Выпускной коллектор
      • Система питания  
        • Коллекторы и патрубки
        • Топливные фильтры
        • Турбокомпрессор
        • Топливные трубопроводы
      • Система смазки  
        • Масляный картер поддон
        • Масляный насос
        • Теплообменник /Водо-масляный радиатор
        • Фильтры масляные (ФГОМ, ФЦОМ)
      • Пневмокомпрессор и натяжное
      • Система охлаждения  
        • Водяной насос
        • Водяные трубы и патрубки
        • Муфты вязкостные, приводы, крыльчатки
      • Ремкомплекты
      • Сцепление
      • Электрооборудование
    • Запчасти ЯМЗ-650, ЯМЗ-651, DCi-11  
      • Основные запчасти двигателя  
        • Цилиндро-поршневая группа
        • Головка блока цилиндров и комплектующие
        • Блок цилиндров и комплектующие
        • Вал коленчатый и маховик
        • Выпускной коллектор
        • Вал распределительный
        • Клапаны и толкатели
        • ГУР (Гидроусилитель руля)
        • Система рециркуляции отработавших газов
      • Система питания  
        • Коллекторы и патрубки
        • Топливные трубопроводы
        • Топливные фильтры
        • Турбокомпрессор
      • Система смазки  
        • Масляный картер / поддон
        • Масляный насос
        • Теплообменник / Водо-масляный радиатор
        • Фильтры масляные (ФГОМ, ФЦОМ)
      • Система охлаждения  
        • Водяной насос
        • Водяные трубы и патрубки
        • Муфты вязкостные, приводы, крыльчатки
      • Ремкомплекты
      • Пневмокомпрессор и натяжное
      • Электрооборудование
      • Сцепление
    • Топливная аппаратура  
      • ЯЗДА  
        • Распылители
        • ТНВД
        • Форсунки
        • Топливный насос низкого давления
        • Пары плунжерные
        • Муфта опережения впрыска топлива
        • Запчасти и комплектующие ТНВД
      • НЗТА
      • АЗПИ  
        • Распылители
        • Форсунки
      • BOSCH
    • Запчасти УРАЛ  
      • Трансмиссия  
        • Коробка раздаточная
        • Передача карданная
        • Мост задний
        • Мост передний (ведущий)
        • Мост средний (промежуточный)
      • Кузов  
        • Дверь кабины
        • Капот, крылья, облицовка радиатора
        • Окно ветровое и заднее
        • Отопление и вентиляция кабины
        • Кабина
      • Механизмы управления  
        • Управление рулевое
        • Тормоза
      • Дополнительное оборудование  
        • Отбор мощности
        • Устройство седельное
      • Электрооборудование
      • Ходовая часть  
        • Колеса и ступицы
        • Ось передняя
        • Подвеска автомобиля
        • Рама
    • Запчасти МАЗ  
      • Трансмиссия  
        • Мост задний
        • Мост передний (ведущий)
        • Передача карданная
        • Мост средний (промежуточный)
      • Кузов  
        • Кабина
        • Дверь кабины
        • Детали основания кабины
        • Окно ветровое и заднее
        • Платформа
      • Механизмы управления  
        • Тормоза
        • Управление рулевое
      • Ходовая часть  
        • Колеса и ступицы
        • Ось передняя
        • Подвеска автомобиля
        • Рама
    • Запчасти КамАЗ  
      • Кузов  
        • Кабина
        • Капот, крылья, облицовка радиатора
        • Дверь кабины
        • Платформа
        • Окно ветровое и заднее
        • Устройство подъемное и опрокидывающее
        • Сиденье
        • Крыша кабины (крыша кузова)
        • Отопление и вентиляция кабины
      • Трансмиссия  
        • Коробка передач
        • Коробка раздаточная
        • Мост задний
        • Сцепление
        • Мост средний (промежуточный)
        • Передача карданная
        • Мост передний (ведущий)
      • Двигатель  
        • Основные запчасти двигателя
        • Система охлаждения
        • Система питания
        • Система смазки
      • Дополнительное оборудование  
        • Отбор мощности
        • Устройство седельное
      • Ходовая часть  
        • Подвеска автомобиля
        • Рама
        • Колеса и ступицы
        • Ось передняя
      • Механизмы управления  
        • Тормоза
        • Управление рулевое
      • Электрооборудование
    • Запчасти ММЗ
    • Ремни
  • Справочник
    • Грузовые автомобили
    • Автобусы
    • Сельхозтехника
    • Спецтехника
    • Двигатели
  • Как купить
    • Условия оплаты
    • Условия доставки
    • Гарантия на товар
    • Пункты выдачи
  • Услуги
    • Капитальный ремонт двигателей ЯМЗ
  • Акции
  • Статьи
  • Контакты
  • Компания
    • Реквизиты
    • Магазины
    • Оплата
    • Доставка
    • Лицензии и сертификаты
    • Новости
    • Вакансии
Избранное 0 Корзина 0
8-800-700-35-68

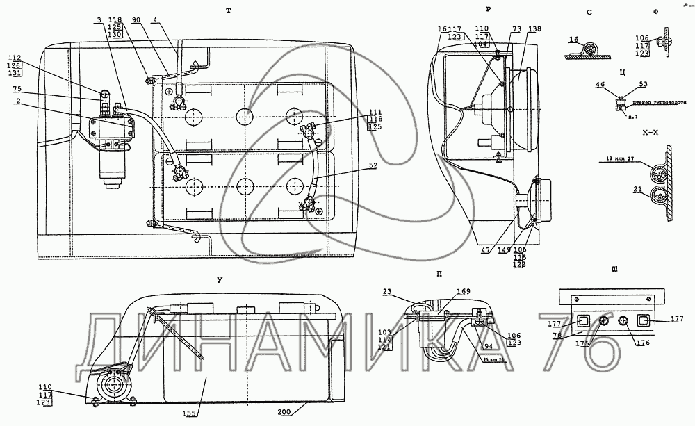
Электрооборудование на E185W (ЕК-18)

Справочник
Главная
-
Автокаталог
-
Спецтехника
-
ТВЭКС
-
E185W (ЕК-18)
Справочный каталог

Электрооборудование — E185W (ЕК-18):

1 2 3 4 5 6 7 8 9 10 11 12 13 14 15 16 16 18 20 21 22 23 24 25 26 27 29 30 34 35 42 44 47 50 51 52 57 60 61 73 75 77 78 82 83 86 89 90 91 94 95 96 97 102 103 104 105 106 106 107 110 110 111 112 114 115 117 117 117 117 118 118 121 122 123 123 123 123 125 125 126 129 130 131 137 138 139 140 141 143 144 145 146 147 148 149 150 151 152 153 154 155 156 157 158 159 160 161 162 163 165 166 169 170 171 172 175 176 177 177 178 179 180 191 194 195 196 198 199 200
в наличии
нет в наличии
масштаб

В наличии
Нет в наличии

Перечень комплектующих от Электрооборудование на E185W (ЕК-18)

Схемы запчастей предназначены для справочных целей! Мы продаем не все запчасти от Электрооборудование на E185W (ЕК-18), представленные в этом списке.
Наличие на складах по деталям с ценой смотрите в карточке товара.
1
1
Артикул: 314-02-88-01-010
нет в наличии
Жгут проводов
Количество на схеме: 1
Информация
Жгут проводов
Количество
1
2
2
Артикул: 314-02-88-01-020
нет в наличии
Провод
Количество на схеме: 1
Информация
Провод
Количество
1
3
3
Артикул: 314-02-88-01-030
нет в наличии
Провод
Количество на схеме: 1
Информация
Провод
Количество
1
4
4
Артикул: 314-02-88-01-040
нет в наличии
Провод
Количество на схеме: 1
Информация
Провод
Количество
1
5
5
Артикул: 314-02-88-01-050
нет в наличии
Жгут проводов
Количество на схеме: 1
Информация
Жгут проводов
Количество
1
6
6
Артикул: 314-02-88-01-050-10
нет в наличии
Жгут проводов
Количество на схеме: 1
Информация
Жгут проводов
Количество
1
7
7
Артикул: 314-02-88-01-050-20
нет в наличии
Жгут проводов
Количество на схеме: 1
Информация
Жгут проводов
Количество
1
8
8
Артикул: 314-02-88-01-060
нет в наличии
Жгут проводов
Количество на схеме: 1
Информация
Жгут проводов
Количество
1
9
9
Артикул: 314-02-88-01-060-10
нет в наличии
Жгут проводов
Количество на схеме: 1
Информация
Жгут проводов
Количество
1
10
10
Артикул: 314-02-88-01-060-20
нет в наличии
Жгут проводов
Количество на схеме: 1
Информация
Жгут проводов
Количество
1
11
11
Артикул: 314-02-88-01-070
нет в наличии
Жгут проводов
Количество на схеме: 1
Информация
Жгут проводов
Количество
1
12
12
Артикул: 314-02-88-01-080
нет в наличии
Жгут проводов
Количество на схеме: 1
Информация
Жгут проводов
Количество
1
13
13
Артикул: 314-02-88-01-090
нет в наличии
Жгут проводов
Количество на схеме: 1
Информация
Жгут проводов
Количество
1
14
14
Артикул: 314-02-88-01-090-10
нет в наличии
Жгут проводов
Количество на схеме: 1
Информация
Жгут проводов
Количество
1
15
15
Артикул: 314-02-88-01-100
нет в наличии
Жгут проводов
Количество на схеме: 1
Информация
Жгут проводов
Количество
1
16
16
Артикул: 314-02-88-01-110
нет в наличии
Жгут проводов
Количество на схеме: 1
Информация
Жгут проводов
Количество
1
18
18
Артикул: 314-02-88-01-120
нет в наличии
Жгут проводов
Количество на схеме: 1
Информация
Жгут проводов
Количество
1
20
20
Артикул: 314-02-88-01-130
нет в наличии
Жгут проводов
Количество на схеме: 1
Информация
Жгут проводов
Количество
1
21
21
Артикул: 314-02-88-01-140
нет в наличии
Жгут проводов
Количество на схеме: 1
Информация
Жгут проводов
Количество
1
22
22
Артикул: 314-02-88-01-150
нет в наличии
Провод
Количество на схеме: 2
Информация
Провод
Количество
2
23
23
Артикул: 314-02-88-01-150-10
нет в наличии
Провод
Количество на схеме: 1
Информация
Провод
Количество
1
24
24
Артикул: 314-02-88-01-160
нет в наличии
Жгут проводов
Количество на схеме: 1
Информация
Жгут проводов
Количество
1
25
25
Артикул: 314-02-88-61-070
нет в наличии
Жгут проводов
Информация
Жгут проводов
26
26
Артикул: 314-02-88-01-170-10
нет в наличии
Жгут проводов
Количество на схеме: 1
Информация
Жгут проводов
Количество
1
27
27
Артикул: 314-02-88-01-180
нет в наличии
Жгут проводов
Количество на схеме: 1
Информация
Жгут проводов
Количество
1
29
29
Артикул: 314-02-88-01-190
нет в наличии
Провод стрелы
Количество на схеме: 1
Информация
Провод стрелы
Количество
1
30
30
Артикул: 314-02-88-01-190-10
нет в наличии
Провод стрелы
Количество на схеме: 1
Информация
Провод стрелы
Количество
1
34
34
Артикул: 314-02-88-01-230
нет в наличии
Жгут проводов
Количество на схеме: 1
Информация
Жгут проводов
Количество
1
35
35
Артикул: 314-02-88-01-230-10
нет в наличии
Жгут проводов
Количество на схеме: 1
Информация
Жгут проводов
Количество
1
42
42
Артикул: 13-06-20-020
нет в наличии
Провод
Количество на схеме: 1
Информация
Провод
Количество
1
44
44
Артикул: КС-3372-80230
нет в наличии
Провод
Количество на схеме: 2
Информация
Провод
Количество
2
47
47
Артикул: ЭО-3323-07-20-330
нет в наличии
Провод
Количество на схеме: 2
Информация
Провод
Количество
2
50
50
Артикул: ЭО-3323-00-70-230
нет в наличии
Жгут проводов стартера
Количество на схеме: 1
Информация
Жгут проводов стартера
Количество
1
51
51
Артикул: ЭО-3323-00-70-280
нет в наличии
Провод заземления
Количество на схеме: 1
Информация
Провод заземления
Количество
1
52
52
Артикул: ЭО-3323-00-70-290
нет в наличии
Перемычка
Количество на схеме: 1
Информация
Перемычка
Количество
1
57
57
Артикул: 312-02-88-01-100
нет в наличии
Пульт руля
Количество на схеме: 1
Информация
Пульт руля
Количество
1
60
60
Артикул: Э-302-1-1602-02
нет в наличии
Провод
Количество на схеме: 3
Информация
Провод
Количество
3
61
61
Артикул: Э-302-1-1602-003
нет в наличии
Провод
Количество на схеме: 1
Информация
Провод
Количество
1
73
73
Артикул: 314-02-88-01-001
нет в наличии
Кронштейн фар
Количество на схеме: 2
Информация
Кронштейн фар
Количество
2
75
75
Артикул: 314-02-88-01-003
нет в наличии
Перемычка
Количество на схеме: 1
Информация
Перемычка
Количество
1
77
77
Артикул: 314-02-88-01-005
нет в наличии
Переходник
Количество на схеме: 1
Информация
Переходник
Количество
1
78
78
Артикул: 314-02-88-01-006
нет в наличии
Кронштейн выключателей
Количество на схеме: 1
Информация
Кронштейн выключателей
Количество
1
82
82
Артикул: КС-3372-80-002
нет в наличии
Кронштейн
Количество на схеме: 1
Информация
Кронштейн
Количество
1
83
83
Артикул: 08-90-00-001
нет в наличии
Уголок
Количество на схеме: 1
Информация
Уголок
Количество
1
86
86
Артикул: 13-06-20-002
нет в наличии
Переходник
Количество на схеме: 1
Информация
Переходник
Количество
1
89
89
Артикул: 26-00-70-008
нет в наличии
Прокладка
Количество на схеме: 1
Информация
Прокладка
Количество
1
90
90
Артикул: ЭО-3323-00-70-102
нет в наличии
Стяжка
Количество на схеме: 2
Информация
Стяжка
Количество
2
91
91
Артикул: ЭО-3323-00-70-461
нет в наличии
Планка
Количество на схеме: 1
Информация
Планка
Количество
1
94
94
Артикул: Э302-1-1600-04Б
нет в наличии
Скоба
Количество на схеме: 3
Информация
Скоба
Количество
3
95
95
Артикул: Э302-1-1600-14
нет в наличии
Хомутик
Количество на схеме: 8
Информация
Хомутик
Количество
8
96
96
Артикул: Э302-1-6600-14
нет в наличии
Чашка
Количество на схеме: 1
Информация
Чашка
Количество
1
97
97
Артикул: Э302-1-1200-39
нет в наличии
Втулка предохранительная
Количество на схеме: 3
Информация
Втулка предохранительная
Количество
3
102
102
Артикул: 17475-В1М3-8gх25-58-019
нет в наличии
Винт
Количество на схеме: 3
Информация
Винт
Количество
3
103
103
Артикул: 17475-В1М3-8gх10-58-019
нет в наличии
Винт
Количество на схеме: 2
Информация
Винт
Количество
2
104
104
Артикул: 17473-В1М4-8gх10-58-019
нет в наличии
Винт
Количество на схеме: 6
Информация
Винт
Количество
6
105
105
Артикул: 17473-В1М4-8gх20-58-019
нет в наличии
Винт
Количество на схеме: 36
Информация
Винт
Количество
36
106
106
Артикул: 17473-В1М4-8gх12-58-019
нет в наличии
Винт
Количество на схеме: 11
Информация
Винт
Количество
11
107
107
Артикул: 17473-В1М4-8gх22-58-019
нет в наличии
Винт
Количество на схеме: 11
Информация
Винт
Количество
11
110
110
Артикул: 7798-ВМ6х14-58-019
нет в наличии
Болт
Количество на схеме: 7
Информация
Болт
Количество
7
111
111
Артикул: 7798-ВМ8х30-58-019
нет в наличии
Болт
Количество на схеме: 4
Информация
Болт
Количество
4
112
112
Артикул: 7798-ВМ10х20-58-019
нет в наличии
Болт
Количество на схеме: 5
Информация
Болт
Количество
5
114
114
Артикул: 5916-М3-6Н-04-019
нет в наличии
Гайка
Количество на схеме: 4
Информация
Гайка
Количество
4
115
115
Артикул: 5916-М4-6Н-04-019
нет в наличии
Гайка
Количество на схеме: 36
Информация
Гайка
Количество
36
117
117
Артикул: 5915-М6-6Н-5-019
нет в наличии
Гайка
Количество на схеме: 31
Информация
Гайка
Количество
31
118
118
Артикул: 5915-М8-6Н-5-019
нет в наличии
Гайка
Количество на схеме: 6
Информация
Гайка
Количество
6
121
121
Артикул: 6402-3-65Г-019
нет в наличии
Шайба
Количество на схеме: 4
Информация
Шайба
Количество
4
122
122
Артикул: 6402-4-65Г-019
нет в наличии
Шайба
Количество на схеме: 42
Информация
Шайба
Количество
42
123
123
Артикул: 6402-6-65Г-019
нет в наличии
Шайба
Количество на схеме: 37
Информация
Шайба
Количество
37
125
125
Артикул: 6402-8-65Г-019
нет в наличии
Шайба
Количество на схеме: 6
Информация
Шайба
Количество
6
126
126
Артикул: 6402-10-65Г-019
нет в наличии
Шайба
Количество на схеме: 5
Информация
Шайба
Количество
5
129
129
Артикул: 11371-6-01-019
нет в наличии
Шайба
Количество на схеме: 7
Информация
Шайба
Количество
7
130
130
Артикул: 11371-8-01-019
нет в наличии
Шайба
Количество на схеме: 2
Информация
Шайба
Количество
2
131
131
Артикул: 11371-10-01-019
нет в наличии
Шайба
Количество на схеме: 1
Информация
Шайба
Количество
1
137
137
Артикул: 30-3711
нет в наличии
Фара
Количество на схеме: 1
Информация
Фара
Количество
1
138
138
Артикул: 42-3711
нет в наличии
Фара
Количество на схеме: 2
Информация
Фара
Количество
2
139
139
Артикул: 112-3743
нет в наличии
Фара
Количество на схеме: 2
Информация
Фара
Количество
2
140
140
Артикул: С311В-01
нет в наличии
Сигнал
Количество на схеме: 1
Информация
Сигнал
Количество
1
141
141
Артикул: 54-5205
нет в наличии
Стеклоочиститель с пантографным устройством
Количество на схеме: 1
Информация
Стеклоочиститель с пантографным устройством
Количество
1
143
143
Артикул: 131-8104210
нет в наличии
Вентилятор головной
Количество на схеме: 1
Информация
Вентилятор головной
Количество
1
Модель
131
Группа
Отопление и вентиляция кабины
Подгруппа
Вентиляция кабины (кузова)
Порядковый номер детали
210
144
144
Артикул: 16-3711
нет в наличии
Плафон
Количество на схеме: 1
Информация
Плафон
Количество
1
145
145
Артикул: ТМ100-В
нет в наличии
Датчик
Количество на схеме: 2
Информация
Датчик
Количество
2
146
146
Артикул: ММ358
нет в наличии
Датчик
Количество на схеме: 1
Информация
Датчик
Количество
1
147
147
Артикул: ММ111
нет в наличии
Датчик
Количество на схеме: 1
Информация
Датчик
Количество
1
148
148
Артикул: БМ144Д
нет в наличии
Датчик
Количество на схеме: 1
Информация
Датчик
Количество
1
149
149
Артикул: УП115
нет в наличии
Указатель поворота
Количество на схеме: 2
Информация
Указатель поворота
Количество
2
150
150
Артикул: УП115-Б
нет в наличии
Указатель поворота
Количество на схеме: 2
Информация
Указатель поворота
Количество
2
151
151
Артикул: ФП115
нет в наличии
Фонарь задний
Количество на схеме: 2
Информация
Фонарь задний
Количество
2
152
152
Артикул: ФП116
нет в наличии
Фонарь задний
Количество на схеме: 2
Информация
Фонарь задний
Количество
2
153
153
Артикул: ФП310-Е
нет в наличии
Световозвращатель
Количество на схеме: 2
Информация
Световозвращатель
Количество
2
154
154
Артикул: РС-502
нет в наличии
Реле стартера
Количество на схеме: 1
Информация
Реле стартера
Количество
1
155
155
Артикул: 3СТ-215А
нет в наличии
Батарея аккумуляторная
Количество на схеме: 2
Информация
Батарея аккумуляторная
Количество
2
156
156
Артикул: 47К
нет в наличии
Розетка
Количество на схеме: 1
Информация
Розетка
Количество
1
157
157
Артикул: ВК861
нет в наличии
Выключатель «массы»
Количество на схеме: 1
Информация
Выключатель «массы»
Количество
1
158
158
Артикул: 18-3738
нет в наличии
Маяк проблесковый
Количество на схеме: 1
Информация
Маяк проблесковый
Количество
1
159
159
Артикул: Блок-питания-проблескового-маяка
нет в наличии
Блок питания проблескового маяка
Количество на схеме: 1
Информация
Блок питания проблескового маяка
Количество
1
160
160
Артикул: 11-3704
нет в наличии
Выключатель
Количество на схеме: 1
Информация
Выключатель
Количество
1
161
161
Артикул: 46-3710
нет в наличии
Включатель
Количество на схеме: 1
Информация
Включатель
Количество
1
162
162
Артикул: 14-3723
нет в наличии
Панель соединительная
Количество на схеме: 2
Информация
Панель соединительная
Количество
2
163
163
Артикул: 17-3723
в наличии
Панель соединительная
Количество на схеме: 1
Информация
Панель соединительная
Количество
1
Панель ГАЗ,ЗИЛ,МАЗ соединительная ЛЭТЗ
Артикул: 17-3723
Панель ГАЗ,ЗИЛ,МАЗ соединительная ЛЭТЗ
Код для заказа: 00042619
Цена: 105 ₽/шт.
Под заказ
Панель ГАЗ,ЗИЛ,МАЗ соединительная ЛЭТЗ
Артикул: 17-3723
Код для заказа: 00042619
Панель ГАЗ,ЗИЛ,МАЗ соединительная ЛЭТЗ
Цена: 105 ₽/шт.
Под заказ
165
165
Артикул: ПР-120
нет в наличии
Блок предохранителей
Количество на схеме: 1
Информация
Блок предохранителей
Количество
1
166
166
Артикул: 45-7373-9003
нет в наличии
Колодка соединительная
Количество на схеме: 3
Информация
Колодка соединительная
Количество
3
169
169
Артикул: 45-7373-9009
нет в наличии
Колодка соединительная
Количество на схеме: 5
Информация
Колодка соединительная
Количество
5
170
170
Артикул: 45-7373-9011
нет в наличии
Колодка соединительная
Количество на схеме: 4
Информация
Колодка соединительная
Количество
4
171
171
Артикул: 45-7373-9012
нет в наличии
Колодка соединительная
Количество на схеме: 4
Информация
Колодка соединительная
Количество
4
172
172
Артикул: 45-7373-9013
нет в наличии
Колодка соединительная
Количество на схеме: 4
Информация
Колодка соединительная
Количество
4
175
175
Артикул: ПД20Е
нет в наличии
Фонарь контрольной лампы
Количество на схеме: 1
Информация
Фонарь контрольной лампы
Количество
1
176
176
Артикул: 121-3803
нет в наличии
Фонарь контрольной лампы
Количество на схеме: 1
Информация
Фонарь контрольной лампы
Количество
1
177
177
Артикул: 375-3710
нет в наличии
Выключатель
Количество на схеме: 2
Информация
Выключатель
Количество
2
178
178
Артикул: ПС500
нет в наличии
Розетка
Количество на схеме: 1
Информация
Розетка
Количество
1
179
179
Артикул: ШПР348
нет в наличии
Вентилятор
Количество на схеме: 1
Информация
Вентилятор
Количество
1
180
180
Артикул: 90-3747
нет в наличии
Реле
Количество на схеме: 1
Информация
Реле
Количество
1
191
191
Артикул: 22-2173-РЗ-Ц-Х-Ш-15
нет в наличии
Металлорукав L=1000+/-10 мм
Количество на схеме: 1
Информация
Металлорукав L=1000+/-10 мм
Количество
1
194
194
Артикул: 8734-10х1
нет в наличии
Труба L=10+/-1 мм
Количество на схеме: 2
Информация
Труба L=10+/-1 мм
Количество
2
195
195
Артикул: 8734-12х1
нет в наличии
Труба L=1400+/-10мм
Количество на схеме: 1
Информация
Труба L=1400+/-10мм
Количество
1
196
196
Артикул: 8734-12х1
нет в наличии
Труба L=1400+/-10мм
Количество на схеме: 1
Информация
Труба L=1400+/-10мм
Количество
1
198
198
Артикул: 19034-305-ТВ-40,16
нет в наличии
Трубка L=30+2 мм
Количество на схеме: 2
Информация
Трубка L=30+2 мм
Количество
2
199
199
Артикул: 19034-305-ТВ-40,16
нет в наличии
Трубка L=30+2 мм
Количество на схеме: 1
Информация
Трубка L=30+2 мм
Количество
1
200
200
Артикул: 7338-1Ф-I-ТМКЦ-С-2
нет в наличии
Пластина 30+(-)2х340+(-)2
Количество на схеме: 3
Информация
Пластина 30+(-)2х340+(-)2
Количество
3
  • Грузовые автомобили
  • Автобусы
  • Сельхозтехника
  • Спецтехника
  • Двигатели
Получить оптовый прайс-лист
Скачать прайс-лист от 08.05.2026 16:00
Специальное предложение от 08.05.2026 17:00
Производители:


  • WEICHAI
  • Автодизель ПАО (ЯМЗ)
  • Тутаевский МЗ
  • ЯЗДА
  • УралАЗ
  • МАЗ
  • АЗПИ
  • BOSCH
  • ММЗ
  • ШААЗ
  • FEDERAL MOGUL
  • ПРАМО
  • Мотордеталь
  • ТАИМ
  • АвтоКрАЗ
  • БЕЛКАРД
  • CZ Strakonice
  • КамАЗ
  • БЗА
  • ЧМЗ
  • BMZ
Новости
Все новости
25 марта 2024
Флагманский седельный тягач «Валдай 45» на выставке «TransRussia»
10 марта 2024
Современные автобусы «CITYMAX 9» и ЛиАЗ-5292 CNG
25 февраля 2024
Серийное производство средних дизельных двигателей повышенной мощности от ЯМЗ
Статьи
Все статьи
Датчики двигателя: за что они отвечают, признаки неисправности и как не прогадать с выбором
Двигатели ЯМЗ-534: история, технические характеристики и области применения
Двигатели ЯМЗ 650: углублённый технический обзор и история
Компания
О компании
Реквизиты
Новости
Политика
Магазины
Информация
Условия оплаты
Условия доставки
Гарантия на товар
Обмен и возврат товара
Помощь
Как оформить заказ
Полезные статьи
Бренды
Пункты выдачи
Оставайтесь на связи
  • Вконтакте
  • YouTube
  • Одноклассники
  • Google Plus
Увидели ошибку?
Выделите, нажав Ctrl + Enter
Наши контакты
8-800-700-35-68
sales@din76.ru
г. Ярославль, Ленинградский пр-т 33, ТЦ "ОМЕГА"
2026 © ООО «Динамика 76» - Все права защищены ООО "Динамика 76"
Предложения на сайте не являются публичной офертой.
На сайте обнаружена ошибка

Текст с ошибкой