Избранное 0 Корзина 0 Личный кабинет
logo
Каталог
Каталог
  • Справочник
    • Грузовые автомобили
    • Автобусы
    • Сельхозтехника
    • Спецтехника
    • Двигатели
  • Доставка
  • Оплата
  • О компании
    • Реквизиты
    • Магазины
    • Оплата
    • Доставка
    • Лицензии и сертификаты
    • Новости
    • Вакансии
  • Контакты
Отправить заявку
Личный кабинет
8 (800) 700-35-68
sales@din76.ru
Избранное 0 Корзина 0
8 (800) 700-35-68
Оптовый прайс-лист
Каталог
  • Двигатели
  • Запчасти WEICHAI
  • Запчасти ЯМЗ, ТМЗ (V-образные)
  • Запчасти ЯМЗ-534, ЯМЗ-536
  • Запчасти ЯМЗ-650, ЯМЗ-651, DCi-11
  • Топливная аппаратура
  • Запчасти УРАЛ
  • Запчасти МАЗ
  • Запчасти КамАЗ
  • Запчасти ММЗ
  • Ремни
Автокаталог (справочник)
  • Доставка
  • Оплата
  • О компании
  • Контакты
8 (800) 700-35-68
Написать в Whatsapp
sales@din76.ru
Динамика 76
Меню  
  • Каталог
    • Двигатели  
      • Двигатели ТМЗ  
        • Двигатели ТМЗ для автомобилей
        • Двигатели ТМЗ для тракторов
        • Специальные двигатели ТМЗ
        • Промышленные двигатели ТМЗ
      • Двигатели ЯМЗ  
        • ЯМЗ 236
        • ЯМЗ 238
        • ЯМЗ 240
        • ЯМЗ 751
        • ЯМЗ 840
        • ЯМЗ 850
        • ЯМЗ 656
        • ЯМЗ 658
        • ЯМЗ 534
        • ЯМЗ 536
        • ЯМЗ 650
        • Двигатели ЯМЗ для электростанций
      • Двигатели КАМАЗ
      • Двигатели ММЗ
      • Двигатели индивидуальной сборки
      • Комплекты переоборудования
    • Запчасти WEICHAI  
      • Основные запчасти двигателя  
        • Клапаны и толкатели
        • Шатуны
        • Вал коленчатый и маховик
        • Вал распределительный
        • Цилиндро-поршневая группа
      • Система питания  
        • Форсунки
        • Турбокомпрессор
      • Система смазки  
        • Насос масляный
      • Головка блока
      • Ремкомплекты
      • Система охлаждения  
        • Насос водяной
        • Муфта вязкостная и крыльчатка
      • Фильтры
      • Электрооборудование  
        • Генератор
        • Стартер
    • Запчасти ЯМЗ, ТМЗ (V-образные)  
      • Основные запчасти двигателя  
        • Блок двигателя и комплектующие
        • Валы распределительные и клапаны
        • Головка блока и комплектующие
        • Цилиндро-поршневая группа
        • Маховики и комплектующие
        • Валы коленчатые и комплектующие
        • Шатуны и комплектующие
      • Система питания  
        • Коллекторы и патрубки
        • Топливные трубопроводы
        • Турбокомпрессор
        • Топливные фильтры
      • Электрооборудование двигателя
      • Система охлаждения  
        • Вязкостные муфты и крыльчатки
        • Приводы вентилятора
        • Водяные насосы
        • Водяные трубы и термостаты
      • Коробки переключения передач  
        • 8 Ступенчатые КПП
        • 5 Ступенчатые КПП
        • 9 Ступенчатые КПП
        • Запасные части КПП ЯМЗ, ТМЗ
      • Система смазки  
        • Теплообменник и комплектующие
        • Масляные насосы
        • Фильтры масляные (ФГОМ, ФЦОМ)
      • Сцепление  
        • Запасные части механизма сцепления
        • Муфты (подшипники выжимные)
        • Корзины (диски нажимные)
        • Диски ведомые
      • Прочие запчасти двигателя  
        • Ремкомплекты
        • Привод агрегатов
        • Натяжные устройства
        • Трубки
    • Запчасти ЯМЗ-534, ЯМЗ-536  
      • Основные запчасти двигателя  
        • Цилиндро-поршневая группа
        • Головка блока цилиндров и комплектующие
        • Блок цилиндров и комплектующие
        • Вал коленчатый и маховик
        • Вал распределительный
        • Клапаны и толкатели
        • ГУР (Гидроусилитель руля)
        • Система рециркуляции отработавших газов
        • Выпускной коллектор
      • Система питания  
        • Коллекторы и патрубки
        • Топливные фильтры
        • Турбокомпрессор
        • Топливные трубопроводы
      • Система смазки  
        • Масляный картер поддон
        • Масляный насос
        • Теплообменник /Водо-масляный радиатор
        • Фильтры масляные (ФГОМ, ФЦОМ)
      • Пневмокомпрессор и натяжное
      • Система охлаждения  
        • Водяной насос
        • Водяные трубы и патрубки
        • Муфты вязкостные, приводы, крыльчатки
      • Ремкомплекты
      • Сцепление
      • Электрооборудование
    • Запчасти ЯМЗ-650, ЯМЗ-651, DCi-11  
      • Основные запчасти двигателя  
        • Цилиндро-поршневая группа
        • Головка блока цилиндров и комплектующие
        • Блок цилиндров и комплектующие
        • Вал коленчатый и маховик
        • Выпускной коллектор
        • Вал распределительный
        • Клапаны и толкатели
        • ГУР (Гидроусилитель руля)
        • Система рециркуляции отработавших газов
      • Система питания  
        • Коллекторы и патрубки
        • Топливные трубопроводы
        • Топливные фильтры
        • Турбокомпрессор
      • Система смазки  
        • Масляный картер / поддон
        • Масляный насос
        • Теплообменник / Водо-масляный радиатор
        • Фильтры масляные (ФГОМ, ФЦОМ)
      • Система охлаждения  
        • Водяной насос
        • Водяные трубы и патрубки
        • Муфты вязкостные, приводы, крыльчатки
      • Ремкомплекты
      • Пневмокомпрессор и натяжное
      • Электрооборудование
      • Сцепление
    • Топливная аппаратура  
      • ЯЗДА  
        • Распылители
        • ТНВД
        • Форсунки
        • Топливный насос низкого давления
        • Пары плунжерные
        • Муфта опережения впрыска топлива
        • Запчасти и комплектующие ТНВД
      • НЗТА
      • АЗПИ  
        • Распылители
        • Форсунки
      • BOSCH
    • Запчасти УРАЛ  
      • Трансмиссия  
        • Коробка раздаточная
        • Передача карданная
        • Мост задний
        • Мост передний (ведущий)
        • Мост средний (промежуточный)
      • Кузов  
        • Дверь кабины
        • Капот, крылья, облицовка радиатора
        • Окно ветровое и заднее
        • Отопление и вентиляция кабины
        • Кабина
      • Механизмы управления  
        • Управление рулевое
        • Тормоза
      • Дополнительное оборудование  
        • Отбор мощности
        • Устройство седельное
      • Электрооборудование
      • Ходовая часть  
        • Колеса и ступицы
        • Ось передняя
        • Подвеска автомобиля
        • Рама
    • Запчасти МАЗ  
      • Трансмиссия  
        • Мост задний
        • Мост передний (ведущий)
        • Передача карданная
        • Мост средний (промежуточный)
      • Кузов  
        • Кабина
        • Дверь кабины
        • Детали основания кабины
        • Окно ветровое и заднее
        • Платформа
      • Механизмы управления  
        • Тормоза
        • Управление рулевое
      • Ходовая часть  
        • Колеса и ступицы
        • Ось передняя
        • Подвеска автомобиля
        • Рама
    • Запчасти КамАЗ  
      • Кузов  
        • Кабина
        • Капот, крылья, облицовка радиатора
        • Дверь кабины
        • Платформа
        • Окно ветровое и заднее
        • Устройство подъемное и опрокидывающее
        • Сиденье
        • Крыша кабины (крыша кузова)
        • Отопление и вентиляция кабины
      • Трансмиссия  
        • Коробка передач
        • Коробка раздаточная
        • Мост задний
        • Сцепление
        • Мост средний (промежуточный)
        • Передача карданная
        • Мост передний (ведущий)
      • Двигатель  
        • Основные запчасти двигателя
        • Система охлаждения
        • Система питания
        • Система смазки
      • Дополнительное оборудование  
        • Отбор мощности
        • Устройство седельное
      • Ходовая часть  
        • Подвеска автомобиля
        • Рама
        • Колеса и ступицы
        • Ось передняя
      • Механизмы управления  
        • Тормоза
        • Управление рулевое
      • Электрооборудование
    • Запчасти ММЗ
    • Ремни
  • Справочник
    • Грузовые автомобили
    • Автобусы
    • Сельхозтехника
    • Спецтехника
    • Двигатели
  • Как купить
    • Условия оплаты
    • Условия доставки
    • Гарантия на товар
    • Пункты выдачи
  • Услуги
    • Капитальный ремонт двигателей ЯМЗ
  • Акции
  • Статьи
  • Контакты
  • Компания
    • Реквизиты
    • Магазины
    • Оплата
    • Доставка
    • Лицензии и сертификаты
    • Новости
    • Вакансии
Избранное 0 Корзина 0
8-800-700-35-68

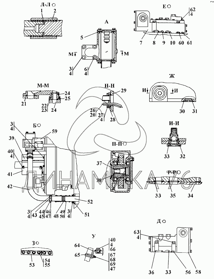
Установка трансмиссии на Шасси ТП-20.02 (до 2008 г.)

Справочник
Главная
-
Автокаталог
-
Спецтехника
-
Промтрактор
-
Шасси ТП-20.02
Справочный каталог

Установка трансмиссии — Шасси ТП-20.02:

1 2 3 3 3 3 4 4 4 4 4 4 4 4 4 4 5 5 6 6 7 7 8 9 10 20 21 22 22 23 24 24 25 25 26 27 28 28 29 30 30 31 31 32 32 33 33 33 34 35 36 37 38 39 39 40 40 41 41 42 42 43 43 44 44 45 46 47 47 47 48 48 49 50 51 52 52 53 54 54 55 56 58 58 59 59 60 61 62 62 63 63 64 64 65 65 66 66 67 67 68 69
в наличии
нет в наличии
масштаб

В наличии
Нет в наличии

Перечень комплектующих от Установка трансмиссии на Шасси ТП-20.02

Схемы запчастей предназначены для справочных целей! Мы продаем не все запчасти от Установка трансмиссии на Шасси ТП-20.02, представленные в этом списке.
Наличие на складах по деталям с ценой смотрите в карточке товара.
1
1
Артикул: 580515
нет в наличии
Кольцо С52 ГОСТ 13943-86
Количество на схеме: 1
Информация
Кольцо С52 ГОСТ 13943-86
Количество
1
Примечание
ГОСТ 13943-86
Покрытие
без покрытия
2
2
Артикул: 2001-16-28
нет в наличии
Муфта
Количество на схеме: 1
Информация
Муфта
Количество
1
3
3
Артикул: БолтМ12-6gх30
нет в наличии
Болт М12-6gх30
Количество на схеме: 20
Информация
Болт М12-6gх30
Количество
20
Примечание
ГОСТ7796-70
4
4
Артикул: Шайба12ОТ
нет в наличии
Шайба12ОТ
Количество на схеме: 65
Информация
Шайба12ОТ
Количество
65
Примечание
ГОСТ6402-70
5
5
Артикул: 312001-16-102-20СП(SP)
нет в наличии
Заборник
Количество на схеме: 1
Информация
Заборник
Количество
1
Покрытие
без покрытия
5
5
Артикул: 312001-16-102СП(SP)
нет в наличии
Заборник
Количество на схеме: 1
Информация
Заборник
Количество
1
Покрытие
без покрытия
6
6
Артикул: 280388
нет в наличии
Болт М12-6gх90.109.40Х.019 ГОСТ 7795-70
Количество на схеме: 15
Информация
Болт М12-6gх90.109.40Х.019 ГОСТ 7795-70
Количество
15
Примечание
ГОСТ 7795-70
Покрытие
без покрытия
6
6
Артикул: 280388-20
нет в наличии
Болт М12-6gх90.109.40Х029 ГОСТ 7795-70
Количество на схеме: 15
Информация
Болт М12-6gх90.109.40Х029 ГОСТ 7795-70
Количество
15
Примечание
ГОСТ 7795-70
Покрытие
7
7
Артикул: 1501-15-20-20СП(SP)
нет в наличии
Блок управления
Количество на схеме: 1
Информация
Блок управления
Количество
1
7
7
Артикул: 1501-15-20СП(SP)
нет в наличии
Блок управления
Количество на схеме: 1
Информация
Блок управления
Количество
1
8
8
Артикул: Кольцо034-038-25-2-51-1668
нет в наличии
Кольцо
Количество на схеме: 2
Информация
Кольцо
Количество
2
Примечание
ГОСТ18829-73/ТУ38.005.204-84
9
9
Артикул: Кольцо049-055-36-2-51-1668
нет в наличии
Кольцо
Количество на схеме: 2
Информация
Кольцо
Количество
2
Примечание
ГОСТ18829-73/ТУ38.005.204-84
10
10
Артикул: Кольцо025-030-30-2-51-1668
нет в наличии
Кольцо 025-030-30-2-51-1668
Количество на схеме: 5
Информация
Кольцо 025-030-30-2-51-1668
Количество
5
Примечание
ГОСТ18829-73/ТУ38.005.204-84
20
20
Артикул: 700-40-6575
нет в наличии
Прокладка
Количество на схеме: 1
Информация
Прокладка
Количество
1
21
21
Артикул: Кольцо060-070-58-2-51-1668
нет в наличии
Кольцо
Количество на схеме: 2
Информация
Кольцо
Количество
2
Примечание
ГОСТ18829-73/ТУ38.005.204-84
22
22
Артикул: 280230
нет в наличии
Болт М10-6gх25
Количество на схеме: 8
Информация
Болт М10-6gх25
Количество
8
Примечание
ГОСТ 7796-70
Покрытие
без покрытия
22
22
Артикул: 280230-20
нет в наличии
Болт М10-6gх25
Количество на схеме: 8
Информация
Болт М10-6gх25
Количество
8
Примечание
ГОСТ 7796-70
Покрытие
23
23
Артикул: Шайба10ОТ
нет в наличии
Шайба 10 ОТ
Количество на схеме: 24
Информация
Шайба 10 ОТ
Количество
24
Примечание
ГОСТ6402-70
24
24
Артикул: Кольцо038-046-46-2-51-1668
нет в наличии
Кольцо 038-046-46-2-51-1668
Количество на схеме: 5
Информация
Кольцо 038-046-46-2-51-1668
Количество
5
Примечание
ГОСТ18829-73/ТУ38.005.204-84
25
25
Артикул: 2001-16-11
нет в наличии
Фланец
Количество на схеме: 2
Информация
Фланец
Количество
2
25
25
Артикул: 2001-16-11-20
нет в наличии
Фланец
Количество на схеме: 2
Информация
Фланец
Количество
2
26
26
Артикул: 2001-16-106-01СП(SP)
нет в наличии
Линейка
Количество на схеме: 1
Информация
Линейка
Количество
1
27
27
Артикул: БолтМ12-6gх35
нет в наличии
Болт М12-6gх35
Количество на схеме: 12
Информация
Болт М12-6gх35
Количество
12
Примечание
ГОСТ7796-70
28
28
Артикул: 2001-16-105-01-20СП(SP)
нет в наличии
Горловина
Количество на схеме: ;;;
Информация
Горловина
Количество
;;;
28
28
Артикул: 2001-16-105-01СП(SP)
нет в наличии
Горловина
Количество на схеме: 1
Информация
Горловина
Количество
1
29
29
Артикул: Кольцо080-090-58-2-3
нет в наличии
Кольцо 080-090-58-2-3
Количество на схеме: 1
Информация
Кольцо 080-090-58-2-3
Количество
1
Примечание
ГОСТ18829-73/ТУ38.005.204-84
30
30
Артикул: 375969
нет в наличии
Пробка
Количество на схеме: 1
Информация
Пробка
Количество
1
Покрытие
без покрытия
30
30
Артикул: 375969-20
нет в наличии
Пробка
Количество на схеме: 1
Информация
Пробка
Количество
1
Покрытие
31
31
Артикул: Кольцо040-045-30-2-3
нет в наличии
Кольцо 040-045-30-2-3
Количество на схеме: 2
Информация
Кольцо 040-045-30-2-3
Количество
2
31
31
Артикул: Кольцо045-050-30-2-51-1668
нет в наличии
Кольцо 045-050-30-2-51-1668
Количество на схеме: 1
Информация
Кольцо 045-050-30-2-51-1668
Количество
1
Примечание
ГОСТ18829-73/ТУ38.005.204-84
32
32
Артикул: 1101-16-112-20СП(SP)
нет в наличии
Клапан
Количество на схеме: 1
Информация
Клапан
Количество
1
32
32
Артикул: 1101-16-112СП(SP)
нет в наличии
Клапан
Количество на схеме: 1
Информация
Клапан
Количество
1
33
33
Артикул: Кольцо032-038-36-2-51-1668
нет в наличии
Кольцо
Количество на схеме: 5
Информация
Кольцо
Количество
5
Примечание
ГОСТ18829-73/ТУ38.005.204-84
34
34
Артикул: Кольцо012-016-25-2-51-1668
нет в наличии
Кольцо
Количество на схеме: 4
Информация
Кольцо
Количество
4
Примечание
ГОСТ18829-73/ТУ38.005.204-84
35
35
Артикул: Кольцо040-048-46-2-51-1668
нет в наличии
Кольцо 040-048-46-2-51-1668
Количество на схеме: 2
Информация
Кольцо 040-048-46-2-51-1668
Количество
2
Примечание
ГОСТ18829-73/ТУ38.005.204-84
36
36
Артикул: Кольцо042-050-46-2-51-1668
нет в наличии
Кольцо 042-050-46-2-51-1668
Количество на схеме: 2
Информация
Кольцо 042-050-46-2-51-1668
Количество
2
Примечание
ГОСТ18829-73/ТУ38.005.204-84
37
37
Артикул: 580307
нет в наличии
Кольцо С34 ГОСТ 13940-86
Количество на схеме: 1
Информация
Кольцо С34 ГОСТ 13940-86
Количество
1
Примечание
ГОСТ 13940-86
Покрытие
без покрытия
38
38
Артикул: 2001-16-32
нет в наличии
Муфта
Количество на схеме: 1
Информация
Муфта
Количество
1
39
39
Артикул: 2001-16-108-20СП(SP)
нет в наличии
Кожух
Количество на схеме: 1
Информация
Кожух
Количество
1
39
39
Артикул: 2001-16-108СП(SP)
нет в наличии
Кожух
Количество на схеме: 1
Информация
Кожух
Количество
1
40
40
Артикул: БолтМ12х1,25-6gх25
нет в наличии
Болт М12х1,25-6gх25
Количество на схеме: 6
Информация
Болт М12х1,25-6gх25
Количество
6
Примечание
ГОСТ7796-70
41
41
Артикул: 2001-16-109-20СП(SP)
нет в наличии
Кожух
Количество на схеме: 1
Информация
Кожух
Количество
1
41
41
Артикул: 2001-16-109СП(SP)
нет в наличии
Кожух
Количество на схеме: 1
Информация
Кожух
Количество
1
42
42
Артикул: 2001-16-5
нет в наличии
Труба
Количество на схеме: 1
Информация
Труба
Количество
1
42
42
Артикул: 2001-16-5-20
нет в наличии
Труба
Количество на схеме: 1
Информация
Труба
Количество
1
43
43
Артикул: 2001-16-101-20СП(SP)
нет в наличии
Опора
Количество на схеме: 1
Информация
Опора
Количество
1
43
43
Артикул: 2001-16-101СП(SP)
нет в наличии
Опора
Количество на схеме: 1
Информация
Опора
Количество
1
44
44
Артикул: 312501-94-105
нет в наличии
Бугель
Количество на схеме: 1
Информация
Бугель
Количество
1
Покрытие
без покрытия
44
44
Артикул: 312501-94-105-20
нет в наличии
Бугель
Количество на схеме: 1
Информация
Бугель
Количество
1
Покрытие
45
45
Артикул: 400040
нет в наличии
Уплотнение
Количество на схеме: 1
Информация
Уплотнение
Количество
1
Покрытие
без покрытия
46
46
Артикул: БолтМ8-6gх70
нет в наличии
Болт М8-6gх70
Количество на схеме: 2
Информация
Болт М8-6gх70
Количество
2
Примечание
ГОСТ7795-70
47
47
Артикул: 310140
нет в наличии
Шайба 8.01.10.019 ГОСТ 6958-78
Количество на схеме: 4
Информация
Шайба 8.01.10.019 ГОСТ 6958-78
Количество
4
Примечание
ГОСТ 6958-78
Покрытие
без покрытия
47
47
Артикул: 310140-20
нет в наличии
Шайба 8.01.10.0221 ГОСТ 6958-78
Количество на схеме: 4
Информация
Шайба 8.01.10.0221 ГОСТ 6958-78
Количество
4
Примечание
ГОСТ 6958-78
Покрытие
48
48
Артикул: 461701-04
нет в наличии
Рукав
Количество на схеме: 2
Информация
Рукав
Количество
2
Покрытие
без покрытия
48
48
Артикул: 461701-04-20
нет в наличии
Рукав
Количество на схеме: 2
Информация
Рукав
Количество
2
Покрытие
49
49
Артикул: 5001-26-130СП(SP)
нет в наличии
Хомут
Количество на схеме: 8
Информация
Хомут
Количество
8
50
50
Артикул: 1085-У-02ПО4-435-002ТУ
нет в наличии
Хомут стяжной червячный
Количество на схеме: 8
Информация
Хомут стяжной червячный
Количество
8
51
51
Артикул: Кольцо100-110-58-2-ИРП-1314-1
нет в наличии
Кольцо 100-110-58-2-ИРП-1314-1
Количество на схеме: 1
Информация
Кольцо 100-110-58-2-ИРП-1314-1
Количество
1
Примечание
ГОСТ18829-73/ТУ38.005.204-84
52
52
Артикул: 2001-16-100-20СП(SP)
нет в наличии
Трубопровод
Количество на схеме: 1
Информация
Трубопровод
Количество
1
52
52
Артикул: 2001-16-100СП(SP)
нет в наличии
Трубопровод
Количество на схеме: 1
Информация
Трубопровод
Количество
1
53
53
Артикул: 2001-16-30
нет в наличии
Планка
Количество на схеме: 4
Информация
Планка
Количество
4
54
54
Артикул: 280728
нет в наличии
Болт М20-6gх60
Количество на схеме: 58
Информация
Болт М20-6gх60
Количество
58
Покрытие
без покрытия
54
54
Артикул: 280728-20
нет в наличии
Болт М20-6gх60
Количество на схеме: 58
Информация
Болт М20-6gх60
Количество
58
Покрытие
55
55
Артикул: Шайба20-ОТ
нет в наличии
Шайба 20.ОТ
Количество на схеме: 58
Информация
Шайба 20.ОТ
Количество
58
Примечание
ГОСТ6402-70
56
56
Артикул: Кольцо022-026-25-2-51-1668
нет в наличии
Кольцо
Количество на схеме: 3
Информация
Кольцо
Количество
3
Примечание
ГОСТ18829-73/ТУ38.005.204-84
58
58
Артикул: 1501-15-41-20СП(SP)
нет в наличии
Блок управления
Количество на схеме: 1
Информация
Блок управления
Количество
1
58
58
Артикул: 1501-15-41СП(SP)
нет в наличии
Блок управления
Количество на схеме: 1
Информация
Блок управления
Количество
1
59
59
Артикул: НШ150Г-4Л
нет в наличии
Насос НШ150Г-4Л
Количество на схеме: 1
Информация
Насос НШ150Г-4Л
Количество
1
Примечание
ТУ3-25-180-97
59
59
Артикул: НШ150Г-4Л
нет в наличии
Насос НШ150Г-4Л
Количество на схеме: 1
Информация
Насос НШ150Г-4Л
Количество
1
Примечание
ТУ3-25-180-97
60
60
Артикул: Кольцо014-018-25-2-51-1668
нет в наличии
Кольцо 014-018-25-2-51-1668
Количество на схеме: 1
Информация
Кольцо 014-018-25-2-51-1668
Количество
1
Примечание
ГОСТ18829-73/ТУ38.005.204-84
61
61
Артикул: Кольцо075-081-36-2-51-1668
нет в наличии
Кольцо 075-081-36-2-51-1668
Количество на схеме: 1
Информация
Кольцо 075-081-36-2-51-1668
Количество
1
Примечание
ГОСТ18829-73/ТУ38.005.204-84
62
62
Артикул: 280383-01
нет в наличии
Болт М12-6gx85
Количество на схеме: 4
Информация
Болт М12-6gx85
Количество
4
Покрытие
без покрытия
62
62
Артикул: 280383-01-20
нет в наличии
Болт М12-6gx85
Количество на схеме: 4
Информация
Болт М12-6gx85
Количество
4
Покрытие
63
63
Артикул: 280379
нет в наличии
Болт 3М12-6gх65.109.40х019 ГОСТ 7796-70
Количество на схеме: 4
Информация
Болт 3М12-6gх65.109.40х019 ГОСТ 7796-70
Количество
4
Покрытие
без покрытия
63
63
Артикул: 280379-20
нет в наличии
Болт 3М12-6gх65.109.40Х.029 ГОСТ 7796-70
Количество на схеме: 4
Информация
Болт 3М12-6gх65.109.40Х.029 ГОСТ 7796-70
Количество
4
Покрытие
64
64
Артикул: 2001-16-15
нет в наличии
Кронштейн
Количество на схеме: 1
Информация
Кронштейн
Количество
1
64
64
Артикул: 2001-16-15-20
нет в наличии
Кронштейн
Количество на схеме: 1
Информация
Кронштейн
Количество
1
65
65
Артикул: 2501-12-170
нет в наличии
Пластина
Количество на схеме: 1
Информация
Пластина
Количество
1
65
65
Артикул: 400324
нет в наличии
Пластина
Количество на схеме: 1
Информация
Пластина
Количество
1
Покрытие
без покрытия
66
66
Артикул: 310230
нет в наличии
Шайба 12.01.08кп.019 ГОСТ 6958-78
Количество на схеме: 2
Информация
Шайба 12.01.08кп.019 ГОСТ 6958-78
Количество
2
Примечание
ГОСТ 6958-78
Покрытие
без покрытия
66
66
Артикул: 310230-20
нет в наличии
Шайба 12.01.08кп.0221 ГОСТ 6958-78
Количество на схеме: 2
Информация
Шайба 12.01.08кп.0221 ГОСТ 6958-78
Количество
2
Примечание
ГОСТ 6958-78
Покрытие
67
67
Артикул: 2501-15-107
нет в наличии
Хомут
Количество на схеме: 1
Информация
Хомут
Количество
1
67
67
Артикул: 2501-15-107-20
нет в наличии
Хомут
Количество на схеме: 1
Информация
Хомут
Количество
1
68
68
Артикул: ГайкаМ8
нет в наличии
Гайка
Количество на схеме: 2
Информация
Гайка
Количество
2
Примечание
ГОСТ5915-70
69
69
Артикул: Шайба8Т
нет в наличии
Шайба 8Т
Количество на схеме: 6
Информация
Шайба 8Т
Количество
6
Примечание
ГОСТ6402-70
  • Грузовые автомобили
  • Автобусы
  • Сельхозтехника
  • Спецтехника
  • Двигатели
Получить оптовый прайс-лист
Скачать прайс-лист от 06.05.2026 16:00
Специальное предложение от 06.05.2026 17:00
Производители:


  • WEICHAI
  • Автодизель ПАО (ЯМЗ)
  • Тутаевский МЗ
  • ЯЗДА
  • УралАЗ
  • МАЗ
  • АЗПИ
  • BOSCH
  • ММЗ
  • ШААЗ
  • FEDERAL MOGUL
  • ПРАМО
  • Мотордеталь
  • ТАИМ
  • АвтоКрАЗ
  • БЕЛКАРД
  • CZ Strakonice
  • КамАЗ
  • БЗА
  • ЧМЗ
  • BMZ
Новости
Все новости
25 марта 2024
Флагманский седельный тягач «Валдай 45» на выставке «TransRussia»
10 марта 2024
Современные автобусы «CITYMAX 9» и ЛиАЗ-5292 CNG
25 февраля 2024
Серийное производство средних дизельных двигателей повышенной мощности от ЯМЗ
Статьи
Все статьи
Датчики двигателя: за что они отвечают, признаки неисправности и как не прогадать с выбором
Двигатели ЯМЗ-534: история, технические характеристики и области применения
Двигатели ЯМЗ 650: углублённый технический обзор и история
Компания
О компании
Реквизиты
Новости
Политика
Магазины
Информация
Условия оплаты
Условия доставки
Гарантия на товар
Обмен и возврат товара
Помощь
Как оформить заказ
Полезные статьи
Бренды
Пункты выдачи
Оставайтесь на связи
  • Вконтакте
  • YouTube
  • Одноклассники
  • Google Plus
Увидели ошибку?
Выделите, нажав Ctrl + Enter
Наши контакты
8-800-700-35-68
sales@din76.ru
г. Ярославль, Ленинградский пр-т 33, ТЦ "ОМЕГА"
2026 © ООО «Динамика 76» - Все права защищены ООО "Динамика 76"
Предложения на сайте не являются публичной офертой.
На сайте обнаружена ошибка

Текст с ошибкой