Избранное 0 Корзина 0 Личный кабинет
logo
Каталог
Каталог
  • Справочник
    • Грузовые автомобили
    • Автобусы
    • Сельхозтехника
    • Спецтехника
    • Двигатели
  • Доставка
  • Оплата
  • О компании
    • Реквизиты
    • Магазины
    • Оплата
    • Доставка
    • Лицензии и сертификаты
    • Новости
    • Вакансии
  • Контакты
Отправить заявку
Личный кабинет
8 (800) 700-35-68
sales@din76.ru
Избранное 0 Корзина 0
8 (800) 700-35-68
Оптовый прайс-лист
Каталог
  • Двигатели
  • Запчасти WEICHAI
  • Запчасти ЯМЗ, ТМЗ (V-образные)
  • Запчасти ЯМЗ-534, ЯМЗ-536
  • Запчасти ЯМЗ-650, ЯМЗ-651, DCi-11
  • Топливная аппаратура
  • Запчасти УРАЛ
  • Запчасти МАЗ
  • Запчасти КамАЗ
  • Запчасти ММЗ
  • Ремни
Автокаталог (справочник)
  • Доставка
  • Оплата
  • О компании
  • Контакты
8 (800) 700-35-68
Написать в Whatsapp
sales@din76.ru
Динамика 76
Меню  
  • Каталог
    • Двигатели  
      • Двигатели ТМЗ  
        • Двигатели ТМЗ для автомобилей
        • Двигатели ТМЗ для тракторов
        • Специальные двигатели ТМЗ
        • Промышленные двигатели ТМЗ
      • Двигатели ЯМЗ  
        • ЯМЗ 236
        • ЯМЗ 238
        • ЯМЗ 240
        • ЯМЗ 751
        • ЯМЗ 840
        • ЯМЗ 850
        • ЯМЗ 656
        • ЯМЗ 658
        • ЯМЗ 534
        • ЯМЗ 536
        • ЯМЗ 650
        • Двигатели ЯМЗ для электростанций
      • Двигатели КАМАЗ
      • Двигатели ММЗ
      • Двигатели индивидуальной сборки
      • Комплекты переоборудования
    • Запчасти WEICHAI  
      • Основные запчасти двигателя  
        • Клапаны и толкатели
        • Шатуны
        • Вал коленчатый и маховик
        • Вал распределительный
        • Цилиндро-поршневая группа
      • Система питания  
        • Форсунки
        • Турбокомпрессор
      • Система смазки  
        • Насос масляный
      • Головка блока
      • Ремкомплекты
      • Система охлаждения  
        • Насос водяной
        • Муфта вязкостная и крыльчатка
      • Фильтры
      • Электрооборудование  
        • Генератор
        • Стартер
    • Запчасти ЯМЗ, ТМЗ (V-образные)  
      • Основные запчасти двигателя  
        • Блок двигателя и комплектующие
        • Валы распределительные и клапаны
        • Головка блока и комплектующие
        • Цилиндро-поршневая группа
        • Маховики и комплектующие
        • Валы коленчатые и комплектующие
        • Шатуны и комплектующие
      • Система питания  
        • Коллекторы и патрубки
        • Топливные трубопроводы
        • Турбокомпрессор
        • Топливные фильтры
      • Электрооборудование двигателя
      • Система охлаждения  
        • Вязкостные муфты и крыльчатки
        • Приводы вентилятора
        • Водяные насосы
        • Водяные трубы и термостаты
      • Коробки переключения передач  
        • 8 Ступенчатые КПП
        • 5 Ступенчатые КПП
        • 9 Ступенчатые КПП
        • Запасные части КПП ЯМЗ, ТМЗ
      • Система смазки  
        • Теплообменник и комплектующие
        • Масляные насосы
        • Фильтры масляные (ФГОМ, ФЦОМ)
      • Сцепление  
        • Запасные части механизма сцепления
        • Муфты (подшипники выжимные)
        • Корзины (диски нажимные)
        • Диски ведомые
      • Прочие запчасти двигателя  
        • Ремкомплекты
        • Привод агрегатов
        • Натяжные устройства
        • Трубки
    • Запчасти ЯМЗ-534, ЯМЗ-536  
      • Основные запчасти двигателя  
        • Цилиндро-поршневая группа
        • Головка блока цилиндров и комплектующие
        • Блок цилиндров и комплектующие
        • Вал коленчатый и маховик
        • Вал распределительный
        • Клапаны и толкатели
        • ГУР (Гидроусилитель руля)
        • Система рециркуляции отработавших газов
        • Выпускной коллектор
      • Система питания  
        • Коллекторы и патрубки
        • Топливные фильтры
        • Турбокомпрессор
        • Топливные трубопроводы
      • Система смазки  
        • Масляный картер поддон
        • Масляный насос
        • Теплообменник /Водо-масляный радиатор
        • Фильтры масляные (ФГОМ, ФЦОМ)
      • Пневмокомпрессор и натяжное
      • Система охлаждения  
        • Водяной насос
        • Водяные трубы и патрубки
        • Муфты вязкостные, приводы, крыльчатки
      • Ремкомплекты
      • Сцепление
      • Электрооборудование
    • Запчасти ЯМЗ-650, ЯМЗ-651, DCi-11  
      • Основные запчасти двигателя  
        • Цилиндро-поршневая группа
        • Головка блока цилиндров и комплектующие
        • Блок цилиндров и комплектующие
        • Вал коленчатый и маховик
        • Выпускной коллектор
        • Вал распределительный
        • Клапаны и толкатели
        • ГУР (Гидроусилитель руля)
        • Система рециркуляции отработавших газов
      • Система питания  
        • Коллекторы и патрубки
        • Топливные трубопроводы
        • Топливные фильтры
        • Турбокомпрессор
      • Система смазки  
        • Масляный картер / поддон
        • Масляный насос
        • Теплообменник / Водо-масляный радиатор
        • Фильтры масляные (ФГОМ, ФЦОМ)
      • Система охлаждения  
        • Водяной насос
        • Водяные трубы и патрубки
        • Муфты вязкостные, приводы, крыльчатки
      • Ремкомплекты
      • Пневмокомпрессор и натяжное
      • Электрооборудование
      • Сцепление
    • Топливная аппаратура  
      • ЯЗДА  
        • Распылители
        • ТНВД
        • Форсунки
        • Топливный насос низкого давления
        • Пары плунжерные
        • Муфта опережения впрыска топлива
        • Запчасти и комплектующие ТНВД
      • НЗТА
      • АЗПИ  
        • Распылители
        • Форсунки
      • BOSCH
    • Запчасти УРАЛ  
      • Трансмиссия  
        • Коробка раздаточная
        • Передача карданная
        • Мост задний
        • Мост передний (ведущий)
        • Мост средний (промежуточный)
      • Кузов  
        • Дверь кабины
        • Капот, крылья, облицовка радиатора
        • Окно ветровое и заднее
        • Отопление и вентиляция кабины
        • Кабина
      • Механизмы управления  
        • Управление рулевое
        • Тормоза
      • Дополнительное оборудование  
        • Отбор мощности
        • Устройство седельное
      • Электрооборудование
      • Ходовая часть  
        • Колеса и ступицы
        • Ось передняя
        • Подвеска автомобиля
        • Рама
    • Запчасти МАЗ  
      • Трансмиссия  
        • Мост задний
        • Мост передний (ведущий)
        • Передача карданная
        • Мост средний (промежуточный)
      • Кузов  
        • Кабина
        • Дверь кабины
        • Детали основания кабины
        • Окно ветровое и заднее
        • Платформа
      • Механизмы управления  
        • Тормоза
        • Управление рулевое
      • Ходовая часть  
        • Колеса и ступицы
        • Ось передняя
        • Подвеска автомобиля
        • Рама
    • Запчасти КамАЗ  
      • Кузов  
        • Кабина
        • Капот, крылья, облицовка радиатора
        • Дверь кабины
        • Платформа
        • Окно ветровое и заднее
        • Устройство подъемное и опрокидывающее
        • Сиденье
        • Крыша кабины (крыша кузова)
        • Отопление и вентиляция кабины
      • Трансмиссия  
        • Коробка передач
        • Коробка раздаточная
        • Мост задний
        • Сцепление
        • Мост средний (промежуточный)
        • Передача карданная
        • Мост передний (ведущий)
      • Двигатель  
        • Основные запчасти двигателя
        • Система охлаждения
        • Система питания
        • Система смазки
      • Дополнительное оборудование  
        • Отбор мощности
        • Устройство седельное
      • Ходовая часть  
        • Подвеска автомобиля
        • Рама
        • Колеса и ступицы
        • Ось передняя
      • Механизмы управления  
        • Тормоза
        • Управление рулевое
      • Электрооборудование
    • Запчасти ММЗ
    • Ремни
  • Справочник
    • Грузовые автомобили
    • Автобусы
    • Сельхозтехника
    • Спецтехника
    • Двигатели
  • Как купить
    • Условия оплаты
    • Условия доставки
    • Гарантия на товар
    • Пункты выдачи
  • Услуги
    • Капитальный ремонт двигателей ЯМЗ
  • Акции
  • Статьи
  • Контакты
  • Компания
    • Реквизиты
    • Магазины
    • Оплата
    • Доставка
    • Лицензии и сертификаты
    • Новости
    • Вакансии
Избранное 0 Корзина 0
8-800-700-35-68

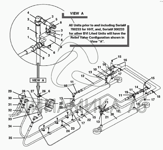
4STR01 Рулевая гидросистема на Versatile серии HHT (до 2008 г.)

Справочник
Главная
-
Автокаталог
-
Сельхозтехника
-
Versatile
-
Versatile серии HHT
Справочный каталог

4STR01 Рулевая гидросистема — Versatile серии HHT:

1 2 3 3 3 3 4 5 6 6 6 6 7 8 9 10 10 11 11 11 11 11 12 12 13 13 13 13 14 14 15 15 15 16 17 17 17 18 19 20 20 21 22 23 24 25 26 26 26 27 28 29 30 31 32 33 34 35
в наличии
нет в наличии
масштаб

В наличии
Нет в наличии

Перечень комплектующих от 4STR01 Рулевая гидросистема на Versatile серии HHT

Схемы запчастей предназначены для справочных целей! Мы продаем не все запчасти от 4STR01 Рулевая гидросистема на Versatile серии HHT, представленные в этом списке.
Наличие на складах по деталям с ценой смотрите в карточке товара.
1
1
Артикул: 9840526
нет в наличии
Фитинг, 9/16orfs 7/16orb
Количество на схеме: 1
Информация
Фитинг, 9/16orfs 7/16orb
Количество
1
Подгруппа
9840
Порядковый номер детали
526
2
2
Артикул: 86033804
нет в наличии
Рукав 3/8dmх430мм 100R17 HHP L4WD
Количество на схеме: 1
Информация
Рукав 3/8dmх430мм 100R17 HHP L4WD
Количество
1
Группа
Механизм опрокидывающий платформы автомобиля-самосвала
Подгруппа
Гидроподъемник
Порядковый номер детали
380
3
3
Артикул: 9825770
нет в наличии
Кольцо уплотнительное 0.301 IDX0.070 THK 90DU
Количество на схеме: 4
Информация
Кольцо уплотнительное 0.301 IDX0.070 THK 90DU
Количество
4
Подгруппа
9825
Порядковый номер детали
770
4
4
Артикул: 86033819
нет в наличии
Фитинг 90, 4orfs - 4orfs
Количество на схеме: 1
Информация
Фитинг 90, 4orfs - 4orfs
Количество
1
Группа
Механизм опрокидывающий платформы автомобиля-самосвала
Подгруппа
Гидроподъемник
Порядковый номер детали
381
5
5
Артикул: 86033818
нет в наличии
Тройник 9/16orfs 7/16orb
Количество на схеме: 1
Информация
Тройник 9/16orfs 7/16orb
Количество
1
Группа
Механизм опрокидывающий платформы автомобиля-самосвала
Подгруппа
Гидроподъемник
Порядковый номер детали
381
6
6
Артикул: 165202
нет в наличии
Кольцо уплотнительное вн. O 0.351xтолщина 0.072
Количество на схеме: 4
Информация
Кольцо уплотнительное вн. O 0.351xтолщина 0.072
Количество
4
Покрытие
без покрытия
7
7
Артикул: 86033820
нет в наличии
Штуцер 9/16orfs 7/16orb
Количество на схеме: 1
Информация
Штуцер 9/16orfs 7/16orb
Количество
1
Группа
Механизм опрокидывающий платформы автомобиля-самосвала
Подгруппа
Гидроподъемник
Порядковый номер детали
382
8
8
Артикул: 86033520
нет в наличии
Клапанная коробка, HHP-L4wd
Количество на схеме: 1
Информация
Клапанная коробка, HHP-L4wd
Количество
1
Группа
Механизм опрокидывающий платформы автомобиля-самосвала
Подгруппа
Гидроподъемник
Порядковый номер детали
352
9
9
Артикул: 86033805
нет в наличии
Рукав 3/8dmх900мм 100R17
Количество на схеме: 1
Информация
Рукав 3/8dmх900мм 100R17
Количество
1
Группа
Механизм опрокидывающий платформы автомобиля-самосвала
Подгруппа
Гидроподъемник
Порядковый номер детали
380
10
10
Артикул: 86505941
нет в наличии
Фитинг 90, 1.00Orfs 7/8Orb
Количество на схеме: 2
Информация
Фитинг 90, 1.00Orfs 7/8Orb
Количество
2
Группа
Механизм опрокидывающий платформы автомобиля-самосвала
Подгруппа
8650
Порядковый номер детали
594
11
11
Артикул: 9992069
нет в наличии
Кольцо уплотнительное 0.614 IDX0.070 THK BU
Количество на схеме: 4
Информация
Кольцо уплотнительное 0.614 IDX0.070 THK BU
Количество
4
Подгруппа
9992
Порядковый номер детали
069
12
12
Артикул: 86032862
нет в наличии
Рукав 1/2dmх1875мм 100r17
Количество на схеме: 2
Информация
Рукав 1/2dmх1875мм 100r17
Количество
2
Группа
Механизм опрокидывающий платформы автомобиля-самосвала
Подгруппа
Гидроподъемник
Порядковый номер детали
286
13
13
Артикул: 167269
нет в наличии
Кольцо уплотнительное вн. O 0.8xтолщина 0.09 N
Количество на схеме: 4
Информация
Кольцо уплотнительное вн. O 0.8xтолщина 0.09 N
Количество
4
Покрытие
без покрытия
14
14
Артикул: V33721
нет в наличии
Хомут 7/8dm
Количество на схеме: 4
Информация
Хомут 7/8dm
Количество
4
15
15
Артикул: 43138
нет в наличии
Болт M10x1.5x20 Cl 8.8
Количество на схеме: 3
Информация
Болт M10x1.5x20 Cl 8.8
Количество
3
16
16
Артикул: 86034051
нет в наличии
Защитный рукав внутр.диам. 1.25dm, длина 1725мм, нейлон
Количество на схеме: 2
Информация
Защитный рукав внутр.диам. 1.25dm, длина 1725мм, нейлон
Количество
2
Группа
Механизм опрокидывающий платформы автомобиля-самосвала
Подгруппа
Гидроподъемник
Порядковый номер детали
405
17
17
Артикул: 43435
нет в наличии
Гайка M10 Usr Pl
Количество на схеме: 3
Информация
Гайка M10 Usr Pl
Количество
3
18
18
Артикул: V33451
нет в наличии
Хомут 365мм, нейлон
Количество на схеме: 4
Информация
Хомут 365мм, нейлон
Количество
4
19
19
Артикул: 86033546
нет в наличии
Тройник Orfs-1, Orb-7/8
Количество на схеме: 1
Информация
Тройник Orfs-1, Orb-7/8
Количество
1
Группа
Механизм опрокидывающий платформы автомобиля-самосвала
Подгруппа
Гидроподъемник
Порядковый номер детали
354
20
20
Артикул: 86030041
нет в наличии
Цилиндр гидравлический рулевого привода HHP-L4WD
Количество на схеме: 2
Информация
Цилиндр гидравлический рулевого привода HHP-L4WD
Количество
2
Группа
Механизм опрокидывающий платформы автомобиля-самосвала
Подгруппа
Гидроподъемник
Порядковый номер детали
004
21
21
Артикул: 86033547
нет в наличии
Тройник Orfs-1, Orb-7/8
Количество на схеме: 1
Информация
Тройник Orfs-1, Orb-7/8
Количество
1
Группа
Механизм опрокидывающий платформы автомобиля-самосвала
Подгруппа
Гидроподъемник
Порядковый номер детали
354
22
22
Артикул: V86372
нет в наличии
Хомут 1.25dm
Количество на схеме: 2
Информация
Хомут 1.25dm
Количество
2
23
23
Артикул: 86030148
нет в наличии
Болт шестигранный FLG M10x16 8.8PL
Количество на схеме: 6
Информация
Болт шестигранный FLG M10x16 8.8PL
Количество
6
Группа
Механизм опрокидывающий платформы автомобиля-самосвала
Подгруппа
Гидроподъемник
Порядковый номер детали
014
24
24
Артикул: 9673060
нет в наличии
Кронштейн 1-3/16
Количество на схеме: 6
Информация
Кронштейн 1-3/16
Количество
6
Подгруппа
9673
Порядковый номер детали
060
25
25
Артикул: 9706460
нет в наличии
Агрегат рулевой
Количество на схеме: 1
Информация
Агрегат рулевой
Количество
1
Подгруппа
9706
Порядковый номер детали
460
26
26
Артикул: 86033836
нет в наличии
Фитинг 90, 6orfs 12orfs 12orb
Количество на схеме: 1
Информация
Фитинг 90, 6orfs 12orfs 12orb
Количество
1
Группа
Механизм опрокидывающий платформы автомобиля-самосвала
Подгруппа
Гидроподъемник
Порядковый номер детали
383
26
26
Артикул: 9843592
нет в наличии
Фитинг 90, 7/16orb 11/16ofs
Количество на схеме: 1
Информация
Фитинг 90, 7/16orb 11/16ofs
Количество
1
Подгруппа
9843
Порядковый номер детали
592
27
27
Артикул: 9993141
нет в наличии
Кольцо уплотнительное 0.364 IDX0.070 THK BUNA
Количество на схеме: 1
Информация
Кольцо уплотнительное 0.364 IDX0.070 THK BUNA
Количество
1
Подгруппа
9993
Порядковый номер детали
141
28
28
Артикул: Non-Available
нет в наличии
Изолятор
Количество на схеме: 4
Информация
Изолятор
Количество
4
29
29
Артикул: 9846848
нет в наличии
Фитинг 90, 1-13/16orfs 1-1/16orb
Количество на схеме: 4
Информация
Фитинг 90, 1-13/16orfs 1-1/16orb
Количество
4
Подгруппа
9846
Порядковый номер детали
848
30
30
Артикул: 9991976
нет в наличии
Кольцо уплотнительное 0.739 IDX0.070 THK BUNA
Количество на схеме: 4
Информация
Кольцо уплотнительное 0.739 IDX0.070 THK BUNA
Количество
4
Подгруппа
9991
Порядковый номер детали
976
31
31
Артикул: 86032819
нет в наличии
Рукав 3/4dmх1200мм 100r1
Количество на схеме: 1
Информация
Рукав 3/4dmх1200мм 100r1
Количество
1
Группа
Механизм опрокидывающий платформы автомобиля-самосвала
Подгруппа
Гидроподъемник
Порядковый номер детали
281
32
32
Артикул: 86032839
нет в наличии
Рукав 3/4dmх875мм 100R17 HHP L4WD
Количество на схеме: 1
Информация
Рукав 3/4dmх875мм 100R17 HHP L4WD
Количество
1
Группа
Механизм опрокидывающий платформы автомобиля-самосвала
Подгруппа
Гидроподъемник
Порядковый номер детали
283
33
33
Артикул: 86032842
нет в наличии
Рукав 3/8dmх750мм 100r17
Количество на схеме: 1
Информация
Рукав 3/8dmх750мм 100r17
Количество
1
Группа
Механизм опрокидывающий платформы автомобиля-самосвала
Подгруппа
Гидроподъемник
Порядковый номер детали
284
34
34
Артикул: 86032841
нет в наличии
Рукав 3/4dmх3550мм 100r17
Количество на схеме: 1
Информация
Рукав 3/4dmх3550мм 100r17
Количество
1
Группа
Механизм опрокидывающий платформы автомобиля-самосвала
Подгруппа
Гидроподъемник
Порядковый номер детали
284
35
35
Артикул: 86032840
нет в наличии
Рукав 3/4dmх3000мм 100r17
Количество на схеме: 1
Информация
Рукав 3/4dmх3000мм 100r17
Количество
1
Группа
Механизм опрокидывающий платформы автомобиля-самосвала
Подгруппа
Гидроподъемник
Порядковый номер детали
284
  • Грузовые автомобили
  • Автобусы
  • Сельхозтехника
  • Спецтехника
  • Двигатели
Получить оптовый прайс-лист
Скачать прайс-лист от 08.05.2026 16:00
Специальное предложение от 08.05.2026 17:00
Производители:


  • WEICHAI
  • Автодизель ПАО (ЯМЗ)
  • Тутаевский МЗ
  • ЯЗДА
  • УралАЗ
  • МАЗ
  • АЗПИ
  • BOSCH
  • ММЗ
  • ШААЗ
  • FEDERAL MOGUL
  • ПРАМО
  • Мотордеталь
  • ТАИМ
  • АвтоКрАЗ
  • БЕЛКАРД
  • CZ Strakonice
  • КамАЗ
  • БЗА
  • ЧМЗ
  • BMZ
Новости
Все новости
25 марта 2024
Флагманский седельный тягач «Валдай 45» на выставке «TransRussia»
10 марта 2024
Современные автобусы «CITYMAX 9» и ЛиАЗ-5292 CNG
25 февраля 2024
Серийное производство средних дизельных двигателей повышенной мощности от ЯМЗ
Статьи
Все статьи
Датчики двигателя: за что они отвечают, признаки неисправности и как не прогадать с выбором
Двигатели ЯМЗ-534: история, технические характеристики и области применения
Двигатели ЯМЗ 650: углублённый технический обзор и история
Компания
О компании
Реквизиты
Новости
Политика
Магазины
Информация
Условия оплаты
Условия доставки
Гарантия на товар
Обмен и возврат товара
Помощь
Как оформить заказ
Полезные статьи
Бренды
Пункты выдачи
Оставайтесь на связи
  • Вконтакте
  • YouTube
  • Одноклассники
  • Google Plus
Увидели ошибку?
Выделите, нажав Ctrl + Enter
Наши контакты
8-800-700-35-68
sales@din76.ru
г. Ярославль, Ленинградский пр-т 33, ТЦ "ОМЕГА"
2026 © ООО «Динамика 76» - Все права защищены ООО "Динамика 76"
Предложения на сайте не являются публичной офертой.
На сайте обнаружена ошибка

Текст с ошибкой