Избранное 0 Корзина 0 Личный кабинет
logo
Каталог
Каталог
  • Справочник
    • Грузовые автомобили
    • Автобусы
    • Сельхозтехника
    • Спецтехника
    • Двигатели
  • Доставка
  • Оплата
  • О компании
    • Реквизиты
    • Магазины
    • Оплата
    • Доставка
    • Лицензии и сертификаты
    • Новости
    • Вакансии
  • Контакты
Отправить заявку
Личный кабинет
8 (800) 700-35-68
sales@din76.ru
Избранное 0 Корзина 0
8 (800) 700-35-68
Оптовый прайс-лист
Каталог
  • Двигатели
  • Запчасти WEICHAI
  • Запчасти ЯМЗ, ТМЗ (V-образные)
  • Запчасти ЯМЗ-534, ЯМЗ-536
  • Запчасти ЯМЗ-650, ЯМЗ-651, DCi-11
  • Топливная аппаратура
  • Запчасти УРАЛ
  • Запчасти МАЗ
  • Запчасти КамАЗ
  • Запчасти ММЗ
  • Ремни
Автокаталог (справочник)
  • Доставка
  • Оплата
  • О компании
  • Контакты
8 (800) 700-35-68
Написать в Whatsapp
sales@din76.ru
Динамика 76
Меню  
  • Каталог
    • Двигатели  
      • Двигатели ТМЗ  
        • Двигатели ТМЗ для автомобилей
        • Двигатели ТМЗ для тракторов
        • Специальные двигатели ТМЗ
        • Промышленные двигатели ТМЗ
      • Двигатели ЯМЗ  
        • ЯМЗ 236
        • ЯМЗ 238
        • ЯМЗ 240
        • ЯМЗ 751
        • ЯМЗ 840
        • ЯМЗ 850
        • ЯМЗ 656
        • ЯМЗ 658
        • ЯМЗ 534
        • ЯМЗ 536
        • ЯМЗ 650
        • Двигатели ЯМЗ для электростанций
      • Двигатели КАМАЗ
      • Двигатели ММЗ
      • Двигатели индивидуальной сборки
      • Комплекты переоборудования
    • Запчасти WEICHAI  
      • Основные запчасти двигателя  
        • Клапаны и толкатели
        • Шатуны
        • Вал коленчатый и маховик
        • Вал распределительный
        • Цилиндро-поршневая группа
      • Система питания  
        • Форсунки
        • Турбокомпрессор
      • Система смазки  
        • Насос масляный
      • Головка блока
      • Ремкомплекты
      • Система охлаждения  
        • Насос водяной
        • Муфта вязкостная и крыльчатка
      • Фильтры
      • Электрооборудование  
        • Генератор
        • Стартер
    • Запчасти ЯМЗ, ТМЗ (V-образные)  
      • Основные запчасти двигателя  
        • Блок двигателя и комплектующие
        • Валы распределительные и клапаны
        • Головка блока и комплектующие
        • Цилиндро-поршневая группа
        • Маховики и комплектующие
        • Валы коленчатые и комплектующие
        • Шатуны и комплектующие
      • Система питания  
        • Коллекторы и патрубки
        • Топливные трубопроводы
        • Турбокомпрессор
        • Топливные фильтры
      • Электрооборудование двигателя
      • Система охлаждения  
        • Вязкостные муфты и крыльчатки
        • Приводы вентилятора
        • Водяные насосы
        • Водяные трубы и термостаты
      • Коробки переключения передач  
        • 8 Ступенчатые КПП
        • 5 Ступенчатые КПП
        • 9 Ступенчатые КПП
        • Запасные части КПП ЯМЗ, ТМЗ
      • Система смазки  
        • Теплообменник и комплектующие
        • Масляные насосы
        • Фильтры масляные (ФГОМ, ФЦОМ)
      • Сцепление  
        • Запасные части механизма сцепления
        • Муфты (подшипники выжимные)
        • Корзины (диски нажимные)
        • Диски ведомые
      • Прочие запчасти двигателя  
        • Ремкомплекты
        • Привод агрегатов
        • Натяжные устройства
        • Трубки
    • Запчасти ЯМЗ-534, ЯМЗ-536  
      • Основные запчасти двигателя  
        • Цилиндро-поршневая группа
        • Головка блока цилиндров и комплектующие
        • Блок цилиндров и комплектующие
        • Вал коленчатый и маховик
        • Вал распределительный
        • Клапаны и толкатели
        • ГУР (Гидроусилитель руля)
        • Система рециркуляции отработавших газов
        • Выпускной коллектор
      • Система питания  
        • Коллекторы и патрубки
        • Топливные фильтры
        • Турбокомпрессор
        • Топливные трубопроводы
      • Система смазки  
        • Масляный картер поддон
        • Масляный насос
        • Теплообменник /Водо-масляный радиатор
        • Фильтры масляные (ФГОМ, ФЦОМ)
      • Пневмокомпрессор и натяжное
      • Система охлаждения  
        • Водяной насос
        • Водяные трубы и патрубки
        • Муфты вязкостные, приводы, крыльчатки
      • Ремкомплекты
      • Сцепление
      • Электрооборудование
    • Запчасти ЯМЗ-650, ЯМЗ-651, DCi-11  
      • Основные запчасти двигателя  
        • Цилиндро-поршневая группа
        • Головка блока цилиндров и комплектующие
        • Блок цилиндров и комплектующие
        • Вал коленчатый и маховик
        • Выпускной коллектор
        • Вал распределительный
        • Клапаны и толкатели
        • ГУР (Гидроусилитель руля)
        • Система рециркуляции отработавших газов
      • Система питания  
        • Коллекторы и патрубки
        • Топливные трубопроводы
        • Топливные фильтры
        • Турбокомпрессор
      • Система смазки  
        • Масляный картер / поддон
        • Масляный насос
        • Теплообменник / Водо-масляный радиатор
        • Фильтры масляные (ФГОМ, ФЦОМ)
      • Система охлаждения  
        • Водяной насос
        • Водяные трубы и патрубки
        • Муфты вязкостные, приводы, крыльчатки
      • Ремкомплекты
      • Пневмокомпрессор и натяжное
      • Электрооборудование
      • Сцепление
    • Топливная аппаратура  
      • ЯЗДА  
        • Распылители
        • ТНВД
        • Форсунки
        • Топливный насос низкого давления
        • Пары плунжерные
        • Муфта опережения впрыска топлива
        • Запчасти и комплектующие ТНВД
      • НЗТА
      • АЗПИ  
        • Распылители
        • Форсунки
      • BOSCH
    • Запчасти УРАЛ  
      • Трансмиссия  
        • Коробка раздаточная
        • Передача карданная
        • Мост задний
        • Мост передний (ведущий)
        • Мост средний (промежуточный)
      • Кузов  
        • Дверь кабины
        • Капот, крылья, облицовка радиатора
        • Окно ветровое и заднее
        • Отопление и вентиляция кабины
        • Кабина
      • Механизмы управления  
        • Управление рулевое
        • Тормоза
      • Дополнительное оборудование  
        • Отбор мощности
        • Устройство седельное
      • Электрооборудование
      • Ходовая часть  
        • Колеса и ступицы
        • Ось передняя
        • Подвеска автомобиля
        • Рама
    • Запчасти МАЗ  
      • Трансмиссия  
        • Мост задний
        • Мост передний (ведущий)
        • Передача карданная
        • Мост средний (промежуточный)
      • Кузов  
        • Кабина
        • Дверь кабины
        • Детали основания кабины
        • Окно ветровое и заднее
        • Платформа
      • Механизмы управления  
        • Тормоза
        • Управление рулевое
      • Ходовая часть  
        • Колеса и ступицы
        • Ось передняя
        • Подвеска автомобиля
        • Рама
    • Запчасти КамАЗ  
      • Кузов  
        • Кабина
        • Капот, крылья, облицовка радиатора
        • Дверь кабины
        • Платформа
        • Окно ветровое и заднее
        • Устройство подъемное и опрокидывающее
        • Сиденье
        • Крыша кабины (крыша кузова)
        • Отопление и вентиляция кабины
      • Трансмиссия  
        • Коробка передач
        • Коробка раздаточная
        • Мост задний
        • Сцепление
        • Мост средний (промежуточный)
        • Передача карданная
        • Мост передний (ведущий)
      • Двигатель  
        • Основные запчасти двигателя
        • Система охлаждения
        • Система питания
        • Система смазки
      • Дополнительное оборудование  
        • Отбор мощности
        • Устройство седельное
      • Ходовая часть  
        • Подвеска автомобиля
        • Рама
        • Колеса и ступицы
        • Ось передняя
      • Механизмы управления  
        • Тормоза
        • Управление рулевое
      • Электрооборудование
    • Запчасти ММЗ
    • Ремни
  • Справочник
    • Грузовые автомобили
    • Автобусы
    • Сельхозтехника
    • Спецтехника
    • Двигатели
  • Как купить
    • Условия оплаты
    • Условия доставки
    • Гарантия на товар
    • Пункты выдачи
  • Услуги
    • Капитальный ремонт двигателей ЯМЗ
  • Акции
  • Статьи
  • Контакты
  • Компания
    • Реквизиты
    • Магазины
    • Оплата
    • Доставка
    • Лицензии и сертификаты
    • Новости
    • Вакансии
Избранное 0 Корзина 0
8-800-700-35-68

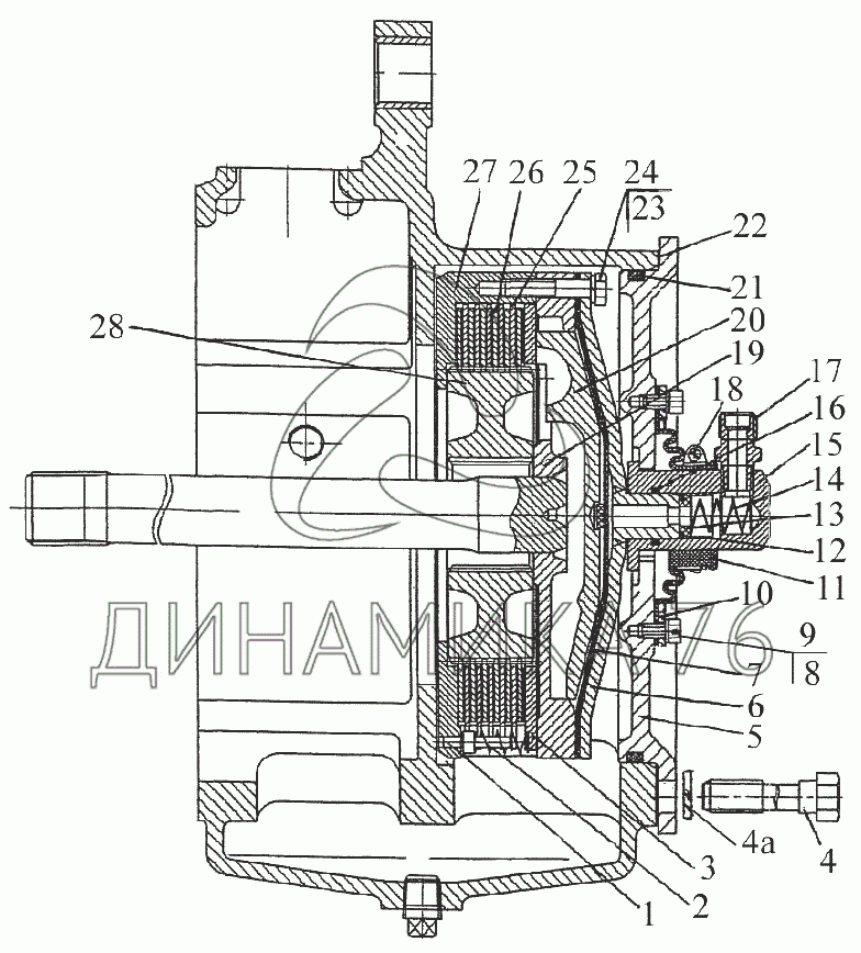
Муфта блокировки дифференциала «мокрая» на 1523.5 (до 2013 г.)

Справочник
Главная
-
Автокаталог
-
Сельхозтехника
-
МТЗ
-
1523.5
Справочный каталог

Муфта блокировки дифференциала «мокрая» — 1523.5:

020-025-30-1-4 1221 М-2409034-01 1221 М-2409050-01 1221 М-2409051 1221 М-3502039 205-215-58-2-2 2522-1802035-А 32-50/9-C6W 35¬50/971 50-1702148-А 54-06-448-А 70-2409020-02 70-2409021 70-2409026-Б 70-2409027-А 70-2409030-Б 70-2409033-Б 80M-2409001 80М-2409002 80М-2409010 80М-2409015 80М-2409016 80М-2409018 80М-2409028 80М-2409028-01 80М-2409028-02 80М-2409028-03 80М-2409028-04 80М-2409028-05 80М-2409028-06 80М-2409036 80М-2409037 85-3407470 Болт М8-6gх40.88.35.019 Болт М8-6дх40.88.35.019 Шайба 14.ОТ Шайба 6Т Шайба 8Т
в наличии
нет в наличии
масштаб

В наличии
Нет в наличии

Перечень комплектующих от Муфта блокировки дифференциала «мокрая» на 1523.5

Схемы запчастей предназначены для справочных целей! Мы продаем не все запчасти от Муфта блокировки дифференциала «мокрая» на 1523.5, представленные в этом списке.
Наличие на складах по деталям с ценой смотрите в карточке товара.
Артикул: 020-025-30-1-4
нет в наличии
Кольцо
Количество на схеме: 1
Информация
Кольцо
Количество
1
Артикул: 1221-М-2409034-01
нет в наличии
Крышка
Количество на схеме: 1
Информация
Крышка
Количество
1
Модель
1221 М
Группа
Мост задний
Подгруппа
2409
Порядковый номер детали
034
Артикул: 1221-М-2409050-01
нет в наличии
Переходник
Количество на схеме: 1
Информация
Переходник
Количество
1
Модель
1221 М
Группа
Мост задний
Подгруппа
2409
Порядковый номер детали
050
Артикул: 1221-М-2409051
нет в наличии
Прокладка
Количество на схеме: 1
Информация
Прокладка
Количество
1
Примечание
ГОСТ 7795-70
Модель
1221 М
Группа
Мост задний
Подгруппа
2409
Порядковый номер детали
051
Артикул: 1221-М-3502039
нет в наличии
Болт
Количество на схеме: 5
Информация
Болт
Количество
5
Примечание
ОСТ 37.001.115-75
Модель
1221 М
Группа
Тормоза
Подгруппа
Тормоза рабочие задние ножные и тормозные барабаны
Порядковый номер детали
039
Артикул: 205-215-58-2-2
нет в наличии
Кольцо
Количество на схеме: 1
Информация
Кольцо
Количество
1
Артикул: 2522-1802035-А
нет в наличии
Диск ведущий
Количество на схеме: 6
Информация
Диск ведущий
Количество
6
Модель
2522
Группа
Коробка раздаточная
Подгруппа
Коробка раздаточная
Порядковый номер детали
035
Артикул: 32-50/9-C6W
нет в наличии
Хомут NORMA TORRO
Количество на схеме: 1
Информация
Хомут NORMA TORRO
Количество
1
Примечание
Clamp NORMA TORRO
Артикул: 35¬50/971
нет в наличии
Хомут
Количество на схеме: 1
Информация
Хомут
Количество
1
Артикул: 50-1702148-А
нет в наличии
Пружина фиксатора
Количество на схеме: 4
Информация
Пружина фиксатора
Количество
4
Примечание
(S=4,7mm)
Модель
50
Группа
Коробка передач
Подгруппа
Механизм переключения передач
Порядковый номер детали
148
Артикул: 54-06-448-А
нет в наличии
Пружина
Количество на схеме: 1
Информация
Пружина
Количество
1
Артикул: 70-2409020-02
нет в наличии
Вал блокировочный
Количество на схеме: 1
Информация
Вал блокировочный
Количество
1
Модель
70
Группа
Мост задний
Подгруппа
2409
Порядковый номер детали
020
Артикул: 70-2409021
нет в наличии
Диафрагма
Количество на схеме: 1
Информация
Диафрагма
Количество
1
Примечание
ГОСТ 7795-70
Модель
70
Группа
Мост задний
Подгруппа
2409
Порядковый номер детали
021
Артикул: 70-2409026-Б
нет в наличии
Переходник
Количество на схеме: 1
Информация
Переходник
Количество
1
Модель
70
Группа
Мост задний
Подгруппа
2409
Порядковый номер детали
026
Артикул: 70-2409027-А
нет в наличии
Втулка
Количество на схеме: 1
Информация
Втулка
Количество
1
Модель
70
Группа
Мост задний
Подгруппа
2409
Порядковый номер детали
027
Артикул: 70-2409030-Б
нет в наличии
Крышка диафрагмы
Количество на схеме: 1
Информация
Крышка диафрагмы
Количество
1
Модель
70
Группа
Мост задний
Подгруппа
2409
Порядковый номер детали
030
Артикул: 70-2409033-Б
нет в наличии
Кольцо
Количество на схеме: 1
Информация
Кольцо
Количество
1
Модель
70
Группа
Мост задний
Подгруппа
2409
Порядковый номер детали
033
Артикул: 80M-2409001
нет в наличии
Ступица
Количество на схеме: 1
Информация
Ступица
Количество
1
Примечание
(1-14)
Модель
80M
Группа
Мост задний
Подгруппа
2409
Порядковый номер детали
001
Артикул: 80М-2409002
нет в наличии
Палец
Количество на схеме: 4
Информация
Палец
Количество
4
Модель
80М
Группа
Мост задний
Подгруппа
2409
Порядковый номер детали
002
Артикул: 80М-2409010
нет в наличии
Муфта блокировки
Количество на схеме: 1
Информация
Муфта блокировки
Количество
1
Примечание
(5,8-18,21)
Модель
80М
Группа
Мост задний
Подгруппа
2409
Порядковый номер детали
010
Артикул: 80М-2409015
нет в наличии
Корпус муфты
Количество на схеме: 1
Информация
Корпус муфты
Количество
1
Модель
80М
Группа
Мост задний
Подгруппа
2409
Порядковый номер детали
015
Артикул: 80М-2409016
нет в наличии
Диск промежуточный
Количество на схеме: 5
Информация
Диск промежуточный
Количество
5
Модель
80М
Группа
Мост задний
Подгруппа
2409
Порядковый номер детали
016
Артикул: 80М-2409018
нет в наличии
Диск нажимной
Количество на схеме: 1
Информация
Диск нажимной
Количество
1
Примечание
ГОСТ 18829-73/ГОСТ 9833-73
Модель
80М
Группа
Мост задний
Подгруппа
2409
Порядковый номер детали
018
Артикул: 80М-2409028
нет в наличии
Диск отжимной
Количество на схеме: 1
Информация
Диск отжимной
Количество
1
Примечание
(S=4,4mm)Подбор
Модель
80М
Группа
Мост задний
Подгруппа
2409
Порядковый номер детали
028
Артикул: 80М-2409028-01
нет в наличии
Диск отжимной
Количество на схеме: ;
Информация
Диск отжимной
Количество
;
Модель
80М
Группа
Мост задний
Подгруппа
2409
Порядковый номер детали
028
Артикул: 80М-2409028-02
нет в наличии
Диск отжимной
Количество на схеме: ;
Информация
Диск отжимной
Количество
;
Модель
80М
Группа
Мост задний
Подгруппа
2409
Порядковый номер детали
028
Артикул: 80М-2409028-03
нет в наличии
Диск отжимной
Количество на схеме: ;
Информация
Диск отжимной
Количество
;
Модель
80М
Группа
Мост задний
Подгруппа
2409
Порядковый номер детали
028
Артикул: 80М-2409028-04
нет в наличии
Диск отжимной
Количество на схеме: ;
Информация
Диск отжимной
Количество
;
Модель
80М
Группа
Мост задний
Подгруппа
2409
Порядковый номер детали
028
Артикул: 80М-2409028-05
нет в наличии
Диск отжимной
Количество на схеме: ;
Информация
Диск отжимной
Количество
;
Модель
80М
Группа
Мост задний
Подгруппа
2409
Порядковый номер детали
028
Артикул: 80М-2409028-06
нет в наличии
Диск отжимной
Количество на схеме: ;
Информация
Диск отжимной
Количество
;
Группа
Мост задний
Подгруппа
2409
Порядковый номер детали
028
Артикул: 80М-2409036
нет в наличии
Уплотнитель
Количество на схеме: 1
Информация
Уплотнитель
Количество
1
Модель
80М
Группа
Мост задний
Подгруппа
2409
Порядковый номер детали
036
Артикул: 80М-2409037
нет в наличии
Кольцо
Количество на схеме: 1
Информация
Кольцо
Количество
1
Модель
80М
Группа
Мост задний
Подгруппа
2409
Порядковый номер детали
037
Артикул: 85-3407470
нет в наличии
Штуцер
Количество на схеме: 1
Информация
Штуцер
Количество
1
Примечание
НОРМАTORRO
Модель
85
Группа
Управление рулевое
Подгруппа
Насос гидроусилителя механизма рулевого управления
Порядковый номер детали
470
Артикул: Болт-М8-6gх40-88-35-019
нет в наличии
Болт
Количество на схеме: 8
Информация
Болт
Количество
8
Примечание
ОСТ 37.001.115-75
Артикул: Болт-М8-6дх40-88-35-019
нет в наличии
Болт
Количество на схеме: 8
Информация
Болт
Количество
8
Примечание
ОСТ 37.001.115-75
Артикул: Шайба-14-ОТ
нет в наличии
Шайба
Количество на схеме: 5
Информация
Шайба
Количество
5
Артикул: Шайба-6Т
нет в наличии
Шайба 6Т
Количество на схеме: 8
Информация
Шайба 6Т
Количество
8
Артикул: Шайба-8Т
нет в наличии
Шайба 8Т
Количество на схеме: 8
Информация
Шайба 8Т
Количество
8
  • Грузовые автомобили
  • Автобусы
  • Сельхозтехника
  • Спецтехника
  • Двигатели
Получить оптовый прайс-лист
Скачать прайс-лист от 06.05.2026 16:00
Специальное предложение от 06.05.2026 17:00
Производители:


  • WEICHAI
  • Автодизель ПАО (ЯМЗ)
  • Тутаевский МЗ
  • ЯЗДА
  • УралАЗ
  • МАЗ
  • АЗПИ
  • BOSCH
  • ММЗ
  • ШААЗ
  • FEDERAL MOGUL
  • ПРАМО
  • Мотордеталь
  • ТАИМ
  • АвтоКрАЗ
  • БЕЛКАРД
  • CZ Strakonice
  • КамАЗ
  • БЗА
  • ЧМЗ
  • BMZ
Новости
Все новости
25 марта 2024
Флагманский седельный тягач «Валдай 45» на выставке «TransRussia»
10 марта 2024
Современные автобусы «CITYMAX 9» и ЛиАЗ-5292 CNG
25 февраля 2024
Серийное производство средних дизельных двигателей повышенной мощности от ЯМЗ
Статьи
Все статьи
Датчики двигателя: за что они отвечают, признаки неисправности и как не прогадать с выбором
Двигатели ЯМЗ-534: история, технические характеристики и области применения
Двигатели ЯМЗ 650: углублённый технический обзор и история
Компания
О компании
Реквизиты
Новости
Политика
Магазины
Информация
Условия оплаты
Условия доставки
Гарантия на товар
Обмен и возврат товара
Помощь
Как оформить заказ
Полезные статьи
Бренды
Пункты выдачи
Оставайтесь на связи
  • Вконтакте
  • YouTube
  • Одноклассники
  • Google Plus
Увидели ошибку?
Выделите, нажав Ctrl + Enter
Наши контакты
8-800-700-35-68
sales@din76.ru
г. Ярославль, Ленинградский пр-т 33, ТЦ "ОМЕГА"
2026 © ООО «Динамика 76» - Все права защищены ООО "Динамика 76"
Предложения на сайте не являются публичной офертой.
На сайте обнаружена ошибка

Текст с ошибкой