Избранное 0 Корзина 0 Личный кабинет
logo
Каталог
Каталог
  • Справочник
    • Грузовые автомобили
    • Автобусы
    • Сельхозтехника
    • Спецтехника
    • Двигатели
  • Доставка
  • Оплата
  • О компании
    • Реквизиты
    • Магазины
    • Оплата
    • Доставка
    • Лицензии и сертификаты
    • Новости
    • Вакансии
  • Контакты
Отправить заявку
Личный кабинет
8 (800) 700-35-68
sales@din76.ru
Избранное 0 Корзина 0
8 (800) 700-35-68
Оптовый прайс-лист
Каталог
  • Двигатели
  • Запчасти WEICHAI
  • Запчасти ЯМЗ, ТМЗ (V-образные)
  • Запчасти ЯМЗ-534, ЯМЗ-536
  • Запчасти ЯМЗ-650, ЯМЗ-651, DCi-11
  • Топливная аппаратура
  • Запчасти УРАЛ
  • Запчасти МАЗ
  • Запчасти КамАЗ
  • Запчасти ММЗ
  • Ремни
Автокаталог (справочник)
  • Доставка
  • Оплата
  • О компании
  • Контакты
8 (800) 700-35-68
Написать в Whatsapp
sales@din76.ru
Динамика 76
Меню  
  • Каталог
    • Двигатели  
      • Двигатели ТМЗ  
        • Двигатели ТМЗ для автомобилей
        • Двигатели ТМЗ для тракторов
        • Специальные двигатели ТМЗ
        • Промышленные двигатели ТМЗ
      • Двигатели ЯМЗ  
        • ЯМЗ 236
        • ЯМЗ 238
        • ЯМЗ 240
        • ЯМЗ 751
        • ЯМЗ 840
        • ЯМЗ 850
        • ЯМЗ 656
        • ЯМЗ 658
        • ЯМЗ 534
        • ЯМЗ 536
        • ЯМЗ 650
        • Двигатели ЯМЗ для электростанций
      • Двигатели КАМАЗ
      • Двигатели ММЗ
      • Двигатели индивидуальной сборки
      • Комплекты переоборудования
    • Запчасти WEICHAI  
      • Основные запчасти двигателя  
        • Клапаны и толкатели
        • Шатуны
        • Вал коленчатый и маховик
        • Вал распределительный
        • Цилиндро-поршневая группа
      • Система питания  
        • Форсунки
        • Турбокомпрессор
      • Система смазки  
        • Насос масляный
      • Головка блока
      • Ремкомплекты
      • Система охлаждения  
        • Насос водяной
        • Муфта вязкостная и крыльчатка
      • Фильтры
      • Электрооборудование  
        • Генератор
        • Стартер
    • Запчасти ЯМЗ, ТМЗ (V-образные)  
      • Основные запчасти двигателя  
        • Блок двигателя и комплектующие
        • Валы распределительные и клапаны
        • Головка блока и комплектующие
        • Цилиндро-поршневая группа
        • Маховики и комплектующие
        • Валы коленчатые и комплектующие
        • Шатуны и комплектующие
      • Система питания  
        • Коллекторы и патрубки
        • Топливные трубопроводы
        • Турбокомпрессор
        • Топливные фильтры
      • Электрооборудование двигателя
      • Система охлаждения  
        • Вязкостные муфты и крыльчатки
        • Приводы вентилятора
        • Водяные насосы
        • Водяные трубы и термостаты
      • Коробки переключения передач  
        • 8 Ступенчатые КПП
        • 5 Ступенчатые КПП
        • 9 Ступенчатые КПП
        • Запасные части КПП ЯМЗ, ТМЗ
      • Система смазки  
        • Теплообменник и комплектующие
        • Масляные насосы
        • Фильтры масляные (ФГОМ, ФЦОМ)
      • Сцепление  
        • Запасные части механизма сцепления
        • Муфты (подшипники выжимные)
        • Корзины (диски нажимные)
        • Диски ведомые
      • Прочие запчасти двигателя  
        • Ремкомплекты
        • Привод агрегатов
        • Натяжные устройства
        • Трубки
    • Запчасти ЯМЗ-534, ЯМЗ-536  
      • Основные запчасти двигателя  
        • Цилиндро-поршневая группа
        • Головка блока цилиндров и комплектующие
        • Блок цилиндров и комплектующие
        • Вал коленчатый и маховик
        • Вал распределительный
        • Клапаны и толкатели
        • ГУР (Гидроусилитель руля)
        • Система рециркуляции отработавших газов
        • Выпускной коллектор
      • Система питания  
        • Коллекторы и патрубки
        • Топливные фильтры
        • Турбокомпрессор
        • Топливные трубопроводы
      • Система смазки  
        • Масляный картер поддон
        • Масляный насос
        • Теплообменник /Водо-масляный радиатор
        • Фильтры масляные (ФГОМ, ФЦОМ)
      • Пневмокомпрессор и натяжное
      • Система охлаждения  
        • Водяной насос
        • Водяные трубы и патрубки
        • Муфты вязкостные, приводы, крыльчатки
      • Ремкомплекты
      • Сцепление
      • Электрооборудование
    • Запчасти ЯМЗ-650, ЯМЗ-651, DCi-11  
      • Основные запчасти двигателя  
        • Цилиндро-поршневая группа
        • Головка блока цилиндров и комплектующие
        • Блок цилиндров и комплектующие
        • Вал коленчатый и маховик
        • Выпускной коллектор
        • Вал распределительный
        • Клапаны и толкатели
        • ГУР (Гидроусилитель руля)
        • Система рециркуляции отработавших газов
      • Система питания  
        • Коллекторы и патрубки
        • Топливные трубопроводы
        • Топливные фильтры
        • Турбокомпрессор
      • Система смазки  
        • Масляный картер / поддон
        • Масляный насос
        • Теплообменник / Водо-масляный радиатор
        • Фильтры масляные (ФГОМ, ФЦОМ)
      • Система охлаждения  
        • Водяной насос
        • Водяные трубы и патрубки
        • Муфты вязкостные, приводы, крыльчатки
      • Ремкомплекты
      • Пневмокомпрессор и натяжное
      • Электрооборудование
      • Сцепление
    • Топливная аппаратура  
      • ЯЗДА  
        • Распылители
        • ТНВД
        • Форсунки
        • Топливный насос низкого давления
        • Пары плунжерные
        • Муфта опережения впрыска топлива
        • Запчасти и комплектующие ТНВД
      • НЗТА
      • АЗПИ  
        • Распылители
        • Форсунки
      • BOSCH
    • Запчасти УРАЛ  
      • Трансмиссия  
        • Коробка раздаточная
        • Передача карданная
        • Мост задний
        • Мост передний (ведущий)
        • Мост средний (промежуточный)
      • Кузов  
        • Дверь кабины
        • Капот, крылья, облицовка радиатора
        • Окно ветровое и заднее
        • Отопление и вентиляция кабины
        • Кабина
      • Механизмы управления  
        • Управление рулевое
        • Тормоза
      • Дополнительное оборудование  
        • Отбор мощности
        • Устройство седельное
      • Электрооборудование
      • Ходовая часть  
        • Колеса и ступицы
        • Ось передняя
        • Подвеска автомобиля
        • Рама
    • Запчасти МАЗ  
      • Трансмиссия  
        • Мост задний
        • Мост передний (ведущий)
        • Передача карданная
        • Мост средний (промежуточный)
      • Кузов  
        • Кабина
        • Дверь кабины
        • Детали основания кабины
        • Окно ветровое и заднее
        • Платформа
      • Механизмы управления  
        • Тормоза
        • Управление рулевое
      • Ходовая часть  
        • Колеса и ступицы
        • Ось передняя
        • Подвеска автомобиля
        • Рама
    • Запчасти КамАЗ  
      • Кузов  
        • Кабина
        • Капот, крылья, облицовка радиатора
        • Дверь кабины
        • Платформа
        • Окно ветровое и заднее
        • Устройство подъемное и опрокидывающее
        • Сиденье
        • Крыша кабины (крыша кузова)
        • Отопление и вентиляция кабины
      • Трансмиссия  
        • Коробка передач
        • Коробка раздаточная
        • Мост задний
        • Сцепление
        • Мост средний (промежуточный)
        • Передача карданная
        • Мост передний (ведущий)
      • Двигатель  
        • Основные запчасти двигателя
        • Система охлаждения
        • Система питания
        • Система смазки
      • Дополнительное оборудование  
        • Отбор мощности
        • Устройство седельное
      • Ходовая часть  
        • Подвеска автомобиля
        • Рама
        • Колеса и ступицы
        • Ось передняя
      • Механизмы управления  
        • Тормоза
        • Управление рулевое
      • Электрооборудование
    • Запчасти ММЗ
    • Ремни
  • Справочник
    • Грузовые автомобили
    • Автобусы
    • Сельхозтехника
    • Спецтехника
    • Двигатели
  • Как купить
    • Условия оплаты
    • Условия доставки
    • Гарантия на товар
    • Пункты выдачи
  • Услуги
    • Капитальный ремонт двигателей ЯМЗ
  • Акции
  • Статьи
  • Контакты
  • Компания
    • Реквизиты
    • Магазины
    • Оплата
    • Доставка
    • Лицензии и сертификаты
    • Новости
    • Вакансии
Избранное 0 Корзина 0
8-800-700-35-68

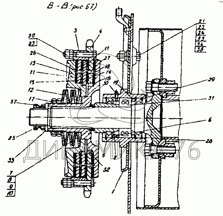
Жатка. Муфта фрикционная (КЗР0301000,КЗР0313000) на КЗР-10 (до 2007 г.)

Справочник
Главная
-
Автокаталог
-
Сельхозтехника
-
Гомсельмаш
-
КЗР-10
Справочный каталог

Жатка. Муфта фрикционная (КЗР0301000,КЗР0313000) — КЗР-10:

КЗР0313000 КЗР0313010 КЗР0323000 МКС0502160 1 2 3 4 5 6 7 8 9 10 11 11 11 11 12 13 14 15 16 17 18 19 20 21 22 23 24 25 26 27 28 29 30 31 32 33 34 35 36 37
в наличии
нет в наличии
масштаб

В наличии
Нет в наличии

Перечень комплектующих от Жатка. Муфта фрикционная (КЗР0301000,КЗР0313000) на КЗР-10

Схемы запчастей предназначены для справочных целей! Мы продаем не все запчасти от Жатка. Муфта фрикционная (КЗР0301000,КЗР0313000) на КЗР-10, представленные в этом списке.
Наличие на складах по деталям с ценой смотрите в карточке товара.
Артикул: КЗР0313000
нет в наличии
Муфта фрикционная
Количество на схеме: 1
Информация
Муфта фрикционная
Количество
1
1063735;
Примечание
Входит в сборочную единицу: КЗР0301000
Модель
КЗ
Подгруппа
0313
Порядковый номер детали
000
Артикул: КЗР0313010
нет в наличии
Звездочка
Количество на схеме: 1
Информация
Звездочка
Количество
1
1063734;
Примечание
Входит в сборочную единицу: КЗР0313000
Модель
КЗ
Подгруппа
0313
Порядковый номер детали
010
Артикул: КЗР0323000
нет в наличии
Плита
Количество на схеме: 1
Информация
Плита
Количество
1
1063736;
Примечание
Входит в сборочную единицу: КЗР0301000
Модель
КЗ
Подгруппа
0323
Порядковый номер детали
000
Артикул: МКС0502160
нет в наличии
Диск
Количество на схеме: 1
Информация
Диск
Количество
1
1063733;
Примечание
Входит в сборочную единицу: КЗР0313000
Модель
МК
Подгруппа
0502
Порядковый номер детали
160
1
1
Артикул: КЗР0323010
нет в наличии
Плита
Количество на схеме: 1
Информация
Плита
Количество
1
1063695;
Примечание
Входит в сборочную единицу: КЗР0323000
Модель
КЗ
Подгруппа
0323
Порядковый номер детали
010
2
2
Артикул: КЗР0301606
нет в наличии
Втулка
Количество на схеме: 1
Информация
Втулка
Количество
1
1063696;
Примечание
Входит в сборочную единицу: КЗР0301000
Модель
КЗ
Подгруппа
0301
Порядковый номер детали
606
3
3
Артикул: КЗР0313201
нет в наличии
Корпус
Количество на схеме: 1
Информация
Корпус
Количество
1
1063697;
Примечание
Входит в сборочную единицу: КЗР0313000
Модель
КЗ
Подгруппа
0313
Порядковый номер детали
201
4
4
Артикул: КЗР0313401
нет в наличии
Звездочка
Количество на схеме: 1
Информация
Звездочка
Количество
1
1063698;
Примечание
Входит в сборочную единицу: КЗР0313010
Модель
КЗ
Подгруппа
0313
Порядковый номер детали
401
5
5
Артикул: КЗР0323201
нет в наличии
Корпус
Количество на схеме: 1
Информация
Корпус
Количество
1
1063699;
Примечание
Входит в сборочную единицу: КЗР0323000
Модель
КЗ
Подгруппа
0323
Порядковый номер детали
201
6
6
Артикул: КЗР0323801
нет в наличии
Втулка
Количество на схеме: 1
Информация
Втулка
Количество
1
1063700;
Примечание
Входит в сборочную единицу: КЗР0323000
Модель
КЗ
Подгруппа
0323
Порядковый номер детали
801
7
7
Артикул: КЗР0350401
нет в наличии
Шайба
Количество на схеме: 1
Информация
Шайба
Количество
1
1063701;
Примечание
Входит в сборочную единицу: КЗР0301000
Модель
КЗ
Подгруппа
0350
Порядковый номер детали
401
8
8
Артикул: КЗР0350401-01
нет в наличии
Шайба
Количество на схеме: 1
Информация
Шайба
Количество
1
1063702;
Примечание
Входит в сборочную единицу: КЗР0301000
Модель
КЗ
Подгруппа
0350
Порядковый номер детали
401
9
9
Артикул: КЗР0350401-02
нет в наличии
Шайба
Количество на схеме: 1
Информация
Шайба
Количество
1
1063703;
Примечание
Входит в сборочную единицу: КЗР0301000
Модель
КЗ
Подгруппа
0350
Порядковый номер детали
401
10
10
Артикул: КЗР0350401-03
нет в наличии
Шайба
Количество на схеме: 1
Информация
Шайба
Количество
1
1063704;
Примечание
Входит в сборочную единицу: КЗР0301000
Модель
КЗ
Подгруппа
0350
Порядковый номер детали
401
11
11
Артикул: КИС0202001А
нет в наличии
Накладка сцепления
Количество на схеме: 2
Информация
Накладка сцепления
Количество
2
1063705;
Примечание
Входит в сборочную единицу: КЗР0313010
Модель
КИ
Подгруппа
0202
Порядковый номер детали
001
11
11
Артикул: КИС0202001А
нет в наличии
Накладка сцепления
Количество на схеме: 2
Информация
Накладка сцепления
Количество
2
1063706;
Примечание
Входит в сборочную единицу: МКС0501160
Модель
КИ
Подгруппа
0202
Порядковый номер детали
001
12
12
Артикул: КИС0202423
нет в наличии
Пружина тарельчатая
Количество на схеме: 5
Информация
Пружина тарельчатая
Количество
5
1063707;
Примечание
Входит в сборочную единицу: КЗР0313000
Модель
КИ
Подгруппа
0202
Порядковый номер детали
423
13
13
Артикул: МКС0502202
нет в наличии
Диск
Количество на схеме: 1
Информация
Диск
Количество
1
1063708;
Примечание
Входит в сборочную единицу: КЗР0313000
Модель
МК
Подгруппа
0502
Порядковый номер детали
202
14
14
Артикул: МКС0502423
нет в наличии
Диск
Количество на схеме: 1
Информация
Диск
Количество
1
1063709;
Примечание
Входит в сборочную единицу: КЗР0313000
Модель
МК
Подгруппа
0502
Порядковый номер детали
423
15
15
Артикул: МКС0502426
нет в наличии
Диск
Количество на схеме: 1
Информация
Диск
Количество
1
1063710;
Примечание
Входит в сборочную единицу: МКС0502160
Модель
МК
Подгруппа
0502
Порядковый номер детали
426
16
16
Артикул: МКС0502427
нет в наличии
Кожух
Количество на схеме: 1
Информация
Кожух
Количество
1
1063711;
Примечание
Входит в сборочную единицу: КЗР0313010
Модель
МК
Подгруппа
0502
Порядковый номер детали
427
17
17
Артикул: МКС0502602
нет в наличии
Гайка
Количество на схеме: 2
Информация
Гайка
Количество
2
1063712;
Примечание
Входит в сборочную единицу: КЗР0313000
Модель
МК
Подгруппа
0502
Порядковый номер детали
602
18
18
Артикул: МКС0502603
нет в наличии
Ступица
Количество на схеме: 1
Информация
Ступица
Количество
1
1063713;
Примечание
Входит в сборочную единицу: КЗР0313000
Модель
МК
Подгруппа
0502
Порядковый номер детали
603
19
19
Артикул: ПКК0107801
нет в наличии
Втулка
Количество на схеме: 1
Информация
Втулка
Количество
1
1063714;
Примечание
Входит в сборочную единицу: КЗР0323000
Модель
ПК
Подгруппа
0107
Порядковый номер детали
801
20
20
Артикул: [Болт-М10-6gх60-7796]
нет в наличии
Болт М10-6gх60-7796
Количество на схеме: 6
Информация
Болт М10-6gх60-7796
Количество
6
1063715;
Примечание
Входит в сборочную единицу: КЗР0313000
21
21
Артикул: [Болт-М12-6gх35-7796]
нет в наличии
Болт М12-6gх35-7796
Количество на схеме: 4
Информация
Болт М12-6gх35-7796
Количество
4
1063716;
Примечание
Входит в сборочную единицу: КЗР0301000
22
22
Артикул: [Гайка-М12-6g-2526]
нет в наличии
Гайка М12-6g-2526
Количество на схеме: 4
Информация
Гайка М12-6g-2526
Количество
4
1063717;
Примечание
Входит в сборочную единицу: КЗР0301000
23
23
Артикул: [Гайка-М10-6g-5915]
нет в наличии
Гайка М10-6g-5915
Количество на схеме: 12
Информация
Гайка М10-6g-5915
Количество
12
1063718;
Примечание
Входит в сборочную единицу: КЗР0313000
24
24
Артикул: [Гайка-М12-6g-2526]
нет в наличии
Гайка М12-6g-2526
Количество на схеме: 11
Информация
Гайка М12-6g-2526
Количество
11
1063719;
Примечание
Входит в сборочную единицу: КЗР0301000
25
25
Артикул: [Гайка-М36х1,5-6g-11871]
нет в наличии
Гайка М36х1,5-6g-11871
Количество на схеме: 2
Информация
Гайка М36х1,5-6g-11871
Количество
2
1063720;
Примечание
Входит в сборочную единицу: КЗР0301000
26
26
Артикул: [Заклепка-6х18-10300]
нет в наличии
Заклепка 6х18-10300
Количество на схеме: 6
Информация
Заклепка 6х18-10300
Количество
6
1063721;
Примечание
Входит в сборочную единицу: МКС0502160
27
27
Артикул: [Заклепка-6х20-10300]
нет в наличии
Заклепка 6х20-10300
Количество на схеме: 6
Информация
Заклепка 6х20-10300
Количество
6
1063722;
Примечание
Входит в сборочную единицу: КЗР0313010
28
28
Артикул: [Кольцо-В85-13941]
нет в наличии
Кольцо В85-13941
Количество на схеме: 4
Информация
Кольцо В85-13941
Количество
4
1063723;
Примечание
Входит в сборочную единицу: КЗР0323000
29
29
Артикул: [Манжета-2-2-60х85-1-8752]
нет в наличии
Манжета 2.2-60х85-1-8752
Количество на схеме: 2
Информация
Манжета 2.2-60х85-1-8752
Количество
2
1063724;
Примечание
Входит в сборочную единицу: КЗР0323000
30
30
Артикул: [Масленка-1-2-19853]
нет в наличии
Масленка 1.2-19853
Количество на схеме: 1
Информация
Масленка 1.2-19853
Количество
1
1063725;
Примечание
Входит в сборочную единицу: КЗР0323000
31
31
Артикул: [Подшипник-1509-28428]
нет в наличии
Подшипник 1509-28428
Количество на схеме: 1
Информация
Подшипник 1509-28428
Количество
1
1063726;
Примечание
Входит в сборочную единицу: КЗР0323000
32
32
Артикул: [Ролик-6х1-III-22696]
нет в наличии
Ролик 6х1-III-22696
Количество на схеме: 75
Информация
Ролик 6х1-III-22696
Количество
75
1063727;
Примечание
Входит в сборочную единицу: КЗР0313000
33
33
Артикул: [Шайба-12-65Г-6402]
нет в наличии
Шайба 12.65Г-6402
Количество на схеме: 39
Информация
Шайба 12.65Г-6402
Количество
39
1063728;
Примечание
Входит в сборочную единицу: КЗР0301000
34
34
Артикул: [Шайба-А12-01-6958]
нет в наличии
Шайба А12.01-6958
Количество на схеме: 22
Информация
Шайба А12.01-6958
Количество
22
1063729;
Примечание
Входит в сборочную единицу: КЗР0301000
35
35
Артикул: [Шайба-А36-01-10450]
нет в наличии
Шайба А36.01-10450
Количество на схеме: 1
Информация
Шайба А36.01-10450
Количество
1
1063730;
Примечание
Входит в сборочную единицу: КЗР0301000
36
36
Артикул: [Шайба-С12-01-11371]
нет в наличии
Шайба С12.01-11371
Количество на схеме: 1
Информация
Шайба С12.01-11371
Количество
1
1063731;
Примечание
Входит в сборочную единицу: КЗР0301000
37
37
Артикул: [Шайба-Н-36-01-11872]
нет в наличии
Шайба Н.36.01-11872
Количество на схеме: 1
Информация
Шайба Н.36.01-11872
Количество
1
1063732;
Примечание
Входит в сборочную единицу: КЗР0301000
  • Грузовые автомобили
  • Автобусы
  • Сельхозтехника
  • Спецтехника
  • Двигатели
Получить оптовый прайс-лист
Скачать прайс-лист от 07.05.2026 12:00
Специальное предложение от 07.05.2026 13:00
Производители:


  • WEICHAI
  • Автодизель ПАО (ЯМЗ)
  • Тутаевский МЗ
  • ЯЗДА
  • УралАЗ
  • МАЗ
  • АЗПИ
  • BOSCH
  • ММЗ
  • ШААЗ
  • FEDERAL MOGUL
  • ПРАМО
  • Мотордеталь
  • ТАИМ
  • АвтоКрАЗ
  • БЕЛКАРД
  • CZ Strakonice
  • КамАЗ
  • БЗА
  • ЧМЗ
  • BMZ
Новости
Все новости
25 марта 2024
Флагманский седельный тягач «Валдай 45» на выставке «TransRussia»
10 марта 2024
Современные автобусы «CITYMAX 9» и ЛиАЗ-5292 CNG
25 февраля 2024
Серийное производство средних дизельных двигателей повышенной мощности от ЯМЗ
Статьи
Все статьи
Датчики двигателя: за что они отвечают, признаки неисправности и как не прогадать с выбором
Двигатели ЯМЗ-534: история, технические характеристики и области применения
Двигатели ЯМЗ 650: углублённый технический обзор и история
Компания
О компании
Реквизиты
Новости
Политика
Магазины
Информация
Условия оплаты
Условия доставки
Гарантия на товар
Обмен и возврат товара
Помощь
Как оформить заказ
Полезные статьи
Бренды
Пункты выдачи
Оставайтесь на связи
  • Вконтакте
  • YouTube
  • Одноклассники
  • Google Plus
Увидели ошибку?
Выделите, нажав Ctrl + Enter
Наши контакты
8-800-700-35-68
sales@din76.ru
г. Ярославль, Ленинградский пр-т 33, ТЦ "ОМЕГА"
2026 © ООО «Динамика 76» - Все права защищены ООО "Динамика 76"
Предложения на сайте не являются публичной офертой.
На сайте обнаружена ошибка

Текст с ошибкой