Избранное 0 Корзина 0 Личный кабинет
logo
Каталог
Каталог
  • Справочник
    • Грузовые автомобили
    • Автобусы
    • Сельхозтехника
    • Спецтехника
    • Двигатели
  • Доставка
  • Оплата
  • О компании
    • Реквизиты
    • Магазины
    • Оплата
    • Доставка
    • Лицензии и сертификаты
    • Новости
    • Вакансии
  • Контакты
Отправить заявку
Личный кабинет
8 (800) 700-35-68
sales@din76.ru
Избранное 0 Корзина 0
8 (800) 700-35-68
Оптовый прайс-лист
Каталог
  • Двигатели
  • Запчасти WEICHAI
  • Запчасти ЯМЗ, ТМЗ (V-образные)
  • Запчасти ЯМЗ-534, ЯМЗ-536
  • Запчасти ЯМЗ-650, ЯМЗ-651, DCi-11
  • Топливная аппаратура
  • Запчасти УРАЛ
  • Запчасти МАЗ
  • Запчасти КамАЗ
  • Запчасти ММЗ
  • Ремни
Автокаталог (справочник)
  • Доставка
  • Оплата
  • О компании
  • Контакты
8 (800) 700-35-68
Написать в Whatsapp
sales@din76.ru
Динамика 76
Меню  
  • Каталог
    • Двигатели  
      • Двигатели ТМЗ  
        • Двигатели ТМЗ для автомобилей
        • Двигатели ТМЗ для тракторов
        • Специальные двигатели ТМЗ
        • Промышленные двигатели ТМЗ
      • Двигатели ЯМЗ  
        • ЯМЗ 236
        • ЯМЗ 238
        • ЯМЗ 240
        • ЯМЗ 751
        • ЯМЗ 840
        • ЯМЗ 850
        • ЯМЗ 656
        • ЯМЗ 658
        • ЯМЗ 534
        • ЯМЗ 536
        • ЯМЗ 650
        • Двигатели ЯМЗ для электростанций
      • Двигатели КАМАЗ
      • Двигатели ММЗ
      • Двигатели индивидуальной сборки
      • Комплекты переоборудования
    • Запчасти WEICHAI  
      • Основные запчасти двигателя  
        • Клапаны и толкатели
        • Шатуны
        • Вал коленчатый и маховик
        • Вал распределительный
        • Цилиндро-поршневая группа
      • Система питания  
        • Форсунки
        • Турбокомпрессор
      • Система смазки  
        • Насос масляный
      • Головка блока
      • Ремкомплекты
      • Система охлаждения  
        • Насос водяной
        • Муфта вязкостная и крыльчатка
      • Фильтры
      • Электрооборудование  
        • Генератор
        • Стартер
    • Запчасти ЯМЗ, ТМЗ (V-образные)  
      • Основные запчасти двигателя  
        • Блок двигателя и комплектующие
        • Валы распределительные и клапаны
        • Головка блока и комплектующие
        • Цилиндро-поршневая группа
        • Маховики и комплектующие
        • Валы коленчатые и комплектующие
        • Шатуны и комплектующие
      • Система питания  
        • Коллекторы и патрубки
        • Топливные трубопроводы
        • Турбокомпрессор
        • Топливные фильтры
      • Электрооборудование двигателя
      • Система охлаждения  
        • Вязкостные муфты и крыльчатки
        • Приводы вентилятора
        • Водяные насосы
        • Водяные трубы и термостаты
      • Коробки переключения передач  
        • 8 Ступенчатые КПП
        • 5 Ступенчатые КПП
        • 9 Ступенчатые КПП
        • Запасные части КПП ЯМЗ, ТМЗ
      • Система смазки  
        • Теплообменник и комплектующие
        • Масляные насосы
        • Фильтры масляные (ФГОМ, ФЦОМ)
      • Сцепление  
        • Запасные части механизма сцепления
        • Муфты (подшипники выжимные)
        • Корзины (диски нажимные)
        • Диски ведомые
      • Прочие запчасти двигателя  
        • Ремкомплекты
        • Привод агрегатов
        • Натяжные устройства
        • Трубки
    • Запчасти ЯМЗ-534, ЯМЗ-536  
      • Основные запчасти двигателя  
        • Цилиндро-поршневая группа
        • Головка блока цилиндров и комплектующие
        • Блок цилиндров и комплектующие
        • Вал коленчатый и маховик
        • Вал распределительный
        • Клапаны и толкатели
        • ГУР (Гидроусилитель руля)
        • Система рециркуляции отработавших газов
        • Выпускной коллектор
      • Система питания  
        • Коллекторы и патрубки
        • Топливные фильтры
        • Турбокомпрессор
        • Топливные трубопроводы
      • Система смазки  
        • Масляный картер поддон
        • Масляный насос
        • Теплообменник /Водо-масляный радиатор
        • Фильтры масляные (ФГОМ, ФЦОМ)
      • Пневмокомпрессор и натяжное
      • Система охлаждения  
        • Водяной насос
        • Водяные трубы и патрубки
        • Муфты вязкостные, приводы, крыльчатки
      • Ремкомплекты
      • Сцепление
      • Электрооборудование
    • Запчасти ЯМЗ-650, ЯМЗ-651, DCi-11  
      • Основные запчасти двигателя  
        • Цилиндро-поршневая группа
        • Головка блока цилиндров и комплектующие
        • Блок цилиндров и комплектующие
        • Вал коленчатый и маховик
        • Выпускной коллектор
        • Вал распределительный
        • Клапаны и толкатели
        • ГУР (Гидроусилитель руля)
        • Система рециркуляции отработавших газов
      • Система питания  
        • Коллекторы и патрубки
        • Топливные трубопроводы
        • Топливные фильтры
        • Турбокомпрессор
      • Система смазки  
        • Масляный картер / поддон
        • Масляный насос
        • Теплообменник / Водо-масляный радиатор
        • Фильтры масляные (ФГОМ, ФЦОМ)
      • Система охлаждения  
        • Водяной насос
        • Водяные трубы и патрубки
        • Муфты вязкостные, приводы, крыльчатки
      • Ремкомплекты
      • Пневмокомпрессор и натяжное
      • Электрооборудование
      • Сцепление
    • Топливная аппаратура  
      • ЯЗДА  
        • Распылители
        • ТНВД
        • Форсунки
        • Топливный насос низкого давления
        • Пары плунжерные
        • Муфта опережения впрыска топлива
        • Запчасти и комплектующие ТНВД
      • НЗТА
      • АЗПИ  
        • Распылители
        • Форсунки
      • BOSCH
    • Запчасти УРАЛ  
      • Трансмиссия  
        • Коробка раздаточная
        • Передача карданная
        • Мост задний
        • Мост передний (ведущий)
        • Мост средний (промежуточный)
      • Кузов  
        • Дверь кабины
        • Капот, крылья, облицовка радиатора
        • Окно ветровое и заднее
        • Отопление и вентиляция кабины
        • Кабина
      • Механизмы управления  
        • Управление рулевое
        • Тормоза
      • Дополнительное оборудование  
        • Отбор мощности
        • Устройство седельное
      • Электрооборудование
      • Ходовая часть  
        • Колеса и ступицы
        • Ось передняя
        • Подвеска автомобиля
        • Рама
    • Запчасти МАЗ  
      • Трансмиссия  
        • Мост задний
        • Мост передний (ведущий)
        • Передача карданная
        • Мост средний (промежуточный)
      • Кузов  
        • Кабина
        • Дверь кабины
        • Детали основания кабины
        • Окно ветровое и заднее
        • Платформа
      • Механизмы управления  
        • Тормоза
        • Управление рулевое
      • Ходовая часть  
        • Колеса и ступицы
        • Ось передняя
        • Подвеска автомобиля
        • Рама
    • Запчасти КамАЗ  
      • Кузов  
        • Кабина
        • Капот, крылья, облицовка радиатора
        • Дверь кабины
        • Платформа
        • Окно ветровое и заднее
        • Устройство подъемное и опрокидывающее
        • Сиденье
        • Крыша кабины (крыша кузова)
        • Отопление и вентиляция кабины
      • Трансмиссия  
        • Коробка передач
        • Коробка раздаточная
        • Мост задний
        • Сцепление
        • Мост средний (промежуточный)
        • Передача карданная
        • Мост передний (ведущий)
      • Двигатель  
        • Основные запчасти двигателя
        • Система охлаждения
        • Система питания
        • Система смазки
      • Дополнительное оборудование  
        • Отбор мощности
        • Устройство седельное
      • Ходовая часть  
        • Подвеска автомобиля
        • Рама
        • Колеса и ступицы
        • Ось передняя
      • Механизмы управления  
        • Тормоза
        • Управление рулевое
      • Электрооборудование
    • Запчасти ММЗ
    • Ремни
  • Справочник
    • Грузовые автомобили
    • Автобусы
    • Сельхозтехника
    • Спецтехника
    • Двигатели
  • Как купить
    • Условия оплаты
    • Условия доставки
    • Гарантия на товар
    • Пункты выдачи
  • Услуги
    • Капитальный ремонт двигателей ЯМЗ
  • Акции
  • Статьи
  • Контакты
  • Компания
    • Реквизиты
    • Магазины
    • Оплата
    • Доставка
    • Лицензии и сертификаты
    • Новости
    • Вакансии
Избранное 0 Корзина 0
8-800-700-35-68

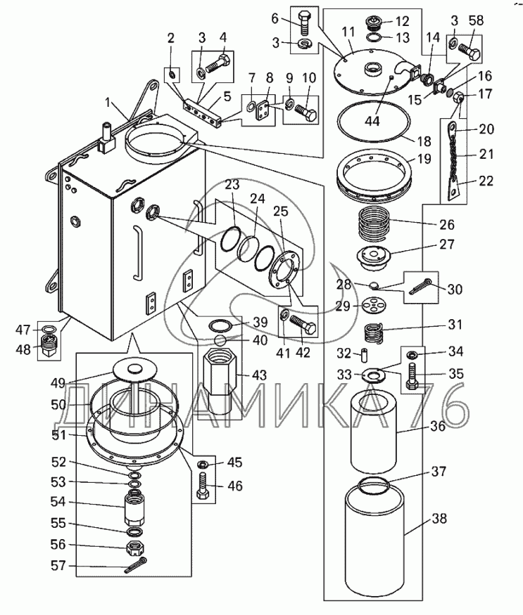
Детали масляного бака на БелАЗ-7513 (до 2002 г.)

Справочник
Главная
-
Автокаталог
-
Грузовые автомобили и прицепы
-
БелАЗ
-
БелАЗ-7513
Справочный каталог

Детали масляного бака — БелАЗ-7513:

75131-8608125 75131-8608600-50 7823-4615200 1 2 3 3 3 4 5 6 7 8 9 10 11 12 13 14 14 15 16 17 18 19 20 21 22 23 24 25 26 27 28 29 30 31 32 33 34 35 36 37 38 39 40 41 42 43 44 45 46 47 48 49 50 51 52 53 54 55 56 57 58
в наличии
нет в наличии
масштаб

В наличии
Нет в наличии

Перечень комплектующих от Детали масляного бака на БелАЗ-7513

Схемы запчастей предназначены для справочных целей! Мы продаем не все запчасти от Детали масляного бака на БелАЗ-7513, представленные в этом списке.
Наличие на складах по деталям с ценой смотрите в карточке товара.
Артикул: 75131-8608125
нет в наличии
Крыша фильтра в сборе
Количество на схеме: 1
Информация
Крыша фильтра в сборе
Количество
1
14235150;
Модель
75131
Группа
Механизм опрокидывающий платформы автомобиля-самосвала
Подгруппа
Бак масляный
Порядковый номер детали
125
Артикул: 75131-8608600-50
нет в наличии
Заслонка
Количество на схеме: 1
Информация
Заслонка
Количество
1
14235148;
Модель
75131
Группа
Механизм опрокидывающий платформы автомобиля-самосвала
Подгруппа
Бак масляный
Порядковый номер детали
600
Дополнительно
Не взаимозаменяема с деталью, выпущенной ранее под этим же номером
Артикул: 7823-4615200
нет в наличии
Клапан предохранительные в сборе
Количество на схеме: 1
Информация
Клапан предохранительные в сборе
Количество
1
14235149;
Модель
7823
Подгруппа
4615
Порядковый номер детали
200
1
1
Артикул: 75131-8608012
нет в наличии
Корпус масляного бака
Количество на схеме: 1
Информация
Корпус масляного бака
Количество
1
14235089;
Модель
75131
Группа
Механизм опрокидывающий платформы автомобиля-самосвала
Подгруппа
Бак масляный
Порядковый номер детали
012
2
2
Артикул: 038-044-36-2-2
нет в наличии
Кольцо
Количество на схеме: 5
Информация
Кольцо
Количество
5
14235090;
3
3
Артикул: 252137
нет в наличии
Шайба
Количество на схеме: 14
Информация
Шайба
Количество
14
14235091;
Покрытие
без покрытия
4
4
Артикул: 340321
нет в наличии
Болт
Количество на схеме: 4
Информация
Болт
Количество
4
14235092;
Покрытие
без покрытия
5
5
Артикул: 75131-8608192
нет в наличии
Плита
Количество на схеме: 1
Информация
Плита
Количество
1
14235093;
Модель
75131
Группа
Механизм опрокидывающий платформы автомобиля-самосвала
Подгруппа
Бак масляный
Порядковый номер детали
192
6
6
Артикул: 201540
нет в наличии
Болт
Количество на схеме: 10
Информация
Болт
Количество
10
14235094;
Покрытие
без покрытия
7
7
Артикул: 034-040-36-2-2
нет в наличии
Кольцо
Количество на схеме: 3
Информация
Кольцо
Количество
3
14235095;
8
8
Артикул: 7513-8609744
нет в наличии
Заглушка
Количество на схеме: 3
Информация
Заглушка
Количество
3
14235096;
Модель
7513
Группа
Механизм опрокидывающий платформы автомобиля-самосвала
Подгруппа
Маслопроводы
Порядковый номер детали
744
9
9
Артикул: 252136
нет в наличии
Шайба
Количество на схеме: 12
Информация
Шайба
Количество
12
14235097;
Покрытие
без покрытия
10
10
Артикул: 340178
нет в наличии
Болт
Количество на схеме: 12
Информация
Болт
Количество
12
14235098;
Покрытие
без покрытия
11
11
Артикул: 75131-8608128
нет в наличии
Крыша фильтра
Количество на схеме: 1
Информация
Крыша фильтра
Количество
1
14235099;
Модель
75131
Группа
Механизм опрокидывающий платформы автомобиля-самосвала
Подгруппа
Бак масляный
Порядковый номер детали
128
12
12
Артикул: 540-1304118
нет в наличии
Пробка
Количество на схеме: 1
Информация
Пробка
Количество
1
14235100;
Модель
540
Группа
Система охлаждения
Подгруппа
Пробка радиатора
Порядковый номер детали
118
13
13
Артикул: 540-1304090-01
нет в наличии
Прокладка
Количество на схеме: 1
Информация
Прокладка
Количество
1
14235101;
Модель
540
Группа
Система охлаждения
Подгруппа
Пробка радиатора
Порядковый номер детали
090
14
14
Артикул: 262541
нет в наличии
Пробка
Количество на схеме: 3
Информация
Пробка
Количество
3
14235102;
Покрытие
без покрытия
14
14
Артикул: 7513-8608419
нет в наличии
Уплотнитель
Количество на схеме: 1
Информация
Уплотнитель
Количество
1
14235103;
Модель
7513
Группа
Механизм опрокидывающий платформы автомобиля-самосвала
Подгруппа
Бак масляный
Порядковый номер детали
419
15
15
Артикул: 7513-8608410
нет в наличии
Фланец
Количество на схеме: 1
Информация
Фланец
Количество
1
14235104;
Модель
7513
Группа
Механизм опрокидывающий платформы автомобиля-самосвала
Подгруппа
Бак масляный
Порядковый номер детали
410
16
16
Артикул: 7513-8608418
нет в наличии
Прокладка
Количество на схеме: 2
Информация
Прокладка
Количество
2
14235105;
Модель
7513
Группа
Механизм опрокидывающий платформы автомобиля-самосвала
Подгруппа
Бак масляный
Порядковый номер детали
418
17
17
Артикул: 7513-8608422
нет в наличии
Крышка
Количество на схеме: 2
Информация
Крышка
Количество
2
14235106;
Модель
7513
Группа
Механизм опрокидывающий платформы автомобиля-самосвала
Подгруппа
Бак масляный
Порядковый номер детали
422
18
18
Артикул: 380-390-58-2-2
нет в наличии
Кольцо
Количество на схеме: 1
Информация
Кольцо
Количество
1
14235107;
19
19
Артикул: 75131-8608447
нет в наличии
Втулка
Количество на схеме: 1
Информация
Втулка
Количество
1
14235108;
Модель
75131
Группа
Механизм опрокидывающий платформы автомобиля-самосвала
Подгруппа
Бак масляный
Порядковый номер детали
447
20
20
Артикул: 7513-8608424
нет в наличии
Ппастина
Количество на схеме: 1
Информация
Ппастина
Количество
1
14235109;
Модель
7513
Группа
Механизм опрокидывающий платформы автомобиля-самосвала
Подгруппа
Бак масляный
Порядковый номер детали
424
21
21
Артикул: 75213-8608750
нет в наличии
Цепочка
Количество на схеме: 2
Информация
Цепочка
Количество
2
14235110;
Модель
75213
Группа
Механизм опрокидывающий платформы автомобиля-самосвала
Подгруппа
Бак масляный
Порядковый номер детали
750
22
22
Артикул: 75213-8608259
нет в наличии
Пластина
Количество на схеме: 2
Информация
Пластина
Количество
2
14235111;
Модель
75213
Группа
Механизм опрокидывающий платформы автомобиля-самосвала
Подгруппа
Бак масляный
Порядковый номер детали
259
23
23
Артикул: 065-070-30-2-2
нет в наличии
Кольцо
Количество на схеме: 4
Информация
Кольцо
Количество
4
14235112;
24
24
Артикул: 7519-2405358
нет в наличии
Глазок
Количество на схеме: 2
Информация
Глазок
Количество
2
14235113;
Модель
7519
Группа
Мост задний
Подгруппа
2405
Порядковый номер детали
358
25
25
Артикул: 549А-1101146
нет в наличии
Крышка
Количество на схеме: 2
Информация
Крышка
Количество
2
14235114;
Модель
549А
Группа
Cистема питания двигателя
Подгруппа
Бак топливный
Порядковый номер детали
146
26
26
Артикул: ТО-41-46011004
нет в наличии
Пружина
Количество на схеме: 1
Информация
Пружина
Количество
1
14235115;
Модель
ТО-41
Подгруппа
4601
Порядковый номер детали
100
27
27
Артикул: 7823-4615214
нет в наличии
Фланец
Количество на схеме: 1
Информация
Фланец
Количество
1
14235116;
Модель
7823
Подгруппа
4615
Порядковый номер детали
214
28
28
Артикул: 7823-4615202
нет в наличии
Клапан
Количество на схеме: 1
Информация
Клапан
Количество
1
14235117;
Модель
7823
Подгруппа
4615
Порядковый номер детали
202
29
29
Артикул: 78231-4615208
нет в наличии
Упор
Количество на схеме: 1
Информация
Упор
Количество
1
14235118;
Модель
78231
Подгруппа
4615
Порядковый номер детали
208
30
30
Артикул: 258069
нет в наличии
Шплинт
Количество на схеме: 1
Информация
Шплинт
Количество
1
14235119;
Покрытие
без покрытия
31
31
Артикул: 7823-4615158
нет в наличии
Пружина
Количество на схеме: 1
Информация
Пружина
Количество
1
14235120;
Модель
7823
Подгруппа
4615
Порядковый номер детали
158
32
32
Артикул: 7823-4615204
нет в наличии
Втулка
Количество на схеме: 2
Информация
Втулка
Количество
2
14235121;
Модель
7823
Подгруппа
4615
Порядковый номер детали
204
33
33
Артикул: 7823-4615208
нет в наличии
Упор
Количество на схеме: 1
Информация
Упор
Количество
1
14235122;
Модель
7823
Подгруппа
4615
Порядковый номер детали
208
34
34
Артикул: 252155
нет в наличии
Шайба
Количество на схеме: 3
Информация
Шайба
Количество
3
14235123;
Покрытие
без покрытия
35
35
Артикул: 200275
нет в наличии
Болт
Количество на схеме: 3
Информация
Болт
Количество
3
14235124;
Покрытие
без покрытия
36
36
Артикул: 690А-1-24/19УХЛ2
нет в наличии
Элемент фильтрующий
Количество на схеме: 1
Информация
Элемент фильтрующий
Количество
1
14235125;
37
37
Артикул: 165-175-58-2-2
нет в наличии
Кольцо
Количество на схеме: 2
Информация
Кольцо
Количество
2
14235126;
38
38
Артикул: 75131-8608137
нет в наличии
Корпус фильтра
Количество на схеме: 1
Информация
Корпус фильтра
Количество
1
14235127;
Модель
75131
Группа
Механизм опрокидывающий платформы автомобиля-самосвала
Подгруппа
Бак масляный
Порядковый номер детали
137
39
39
Артикул: 030-035-30-2-2
нет в наличии
Кольцо
Количество на схеме: 1
Информация
Кольцо
Количество
1
14235128;
40
40
Артикул: 22-225-60+150
нет в наличии
Шарик
Количество на схеме: 1
Информация
Шарик
Количество
1
14235129;
41
41
Артикул: 201418
нет в наличии
Болт
Количество на схеме: 8
Информация
Болт
Количество
8
14235130;
Покрытие
без покрытия
42
42
Артикул: 252134
нет в наличии
Шайба
Количество на схеме: 8
Информация
Шайба
Количество
8
14235131;
Покрытие
без покрытия
43
43
Артикул: 7513-8608400
нет в наличии
Ниппель
Количество на схеме: 1
Информация
Ниппель
Количество
1
14235132;
Модель
7513
Группа
Механизм опрокидывающий платформы автомобиля-самосвала
Подгруппа
Бак масляный
Порядковый номер детали
400
44
44
Артикул: 262541
нет в наличии
Пробка
Количество на схеме: 1
Информация
Пробка
Количество
1
14235133;
Покрытие
без покрытия
45
45
Артикул: 252135
нет в наличии
Шайба
Количество на схеме: 16
Информация
Шайба
Количество
16
14235134;
Покрытие
без покрытия
46
46
Артикул: 201456
нет в наличии
Болт
Количество на схеме: 12
Информация
Болт
Количество
12
14235135;
Покрытие
без покрытия
47
47
Артикул: 040-045-30-2-2
нет в наличии
Кольцо
Количество на схеме: 2
Информация
Кольцо
Количество
2
14235136;
48
48
Артикул: 75131-8608900
нет в наличии
Пробка магнитная М42х2
Количество на схеме: 2
Информация
Пробка магнитная М42х2
Количество
2
14235137;
Модель
75131
Группа
Механизм опрокидывающий платформы автомобиля-самосвала
Подгруппа
Бак масляный
Порядковый номер детали
900
49
49
Артикул: 75131-8608612-50
нет в наличии
Заслонка
Количество на схеме: 1
Информация
Заслонка
Количество
1
14235138;
Модель
75131
Группа
Механизм опрокидывающий платформы автомобиля-самосвала
Подгруппа
Бак масляный
Порядковый номер детали
612
Дополнительно
Не взаимозаменяема с деталью, выпущенной ранее под этим же номером
50
50
Артикул: 385-400-85-2-2
нет в наличии
Кольцо
Количество на схеме: 1
Информация
Кольцо
Количество
1
14235139;
51
51
Артикул: 75131-8608610-50
нет в наличии
Заслонка
Количество на схеме: 1
Информация
Заслонка
Количество
1
14235140;
Модель
75131
Группа
Механизм опрокидывающий платформы автомобиля-самосвала
Подгруппа
Бак масляный
Порядковый номер детали
610
Дополнительно
Не взаимозаменяема с деталью, выпущенной ранее под этим же номером
52
52
Артикул: 549А-2907263
нет в наличии
Шайба защитная гильзы
Количество на схеме: 2
Информация
Шайба защитная гильзы
Количество
2
14235141;
Модель
549А
Группа
Подвеска автомобиля
Подгруппа
2907
Порядковый номер детали
263
53
53
Артикул: 020-025-30-2-2
нет в наличии
Кольцо
Количество на схеме: 1
Информация
Кольцо
Количество
1
14235142;
54
54
Артикул: 549-8608760
нет в наличии
Колпак
Количество на схеме: 1
Информация
Колпак
Количество
1
14235143;
Модель
549
Группа
Механизм опрокидывающий платформы автомобиля-самосвала
Подгруппа
Бак масляный
Порядковый номер детали
760
55
55
Артикул: 252016
нет в наличии
Шайба
Количество на схеме: 1
Информация
Шайба
Количество
1
14235144;
Покрытие
без покрытия
56
56
Артикул: 374625
нет в наличии
Гайка
Количество на схеме: 1
Информация
Гайка
Количество
1
14235145;
Покрытие
без покрытия
57
57
Артикул: 258042
нет в наличии
Шплинт
Количество на схеме: 1
Информация
Шплинт
Количество
1
14235146;
Покрытие
без покрытия
58
58
Артикул: 201454
нет в наличии
Болт
Количество на схеме: 4
Информация
Болт
Количество
4
14235147;
Покрытие
без покрытия
  • Грузовые автомобили
  • Автобусы
  • Сельхозтехника
  • Спецтехника
  • Двигатели
Получить оптовый прайс-лист
Скачать прайс-лист от 06.05.2026 16:00
Специальное предложение от 06.05.2026 17:00
Производители:


  • WEICHAI
  • Автодизель ПАО (ЯМЗ)
  • Тутаевский МЗ
  • ЯЗДА
  • УралАЗ
  • МАЗ
  • АЗПИ
  • BOSCH
  • ММЗ
  • ШААЗ
  • FEDERAL MOGUL
  • ПРАМО
  • Мотордеталь
  • ТАИМ
  • АвтоКрАЗ
  • БЕЛКАРД
  • CZ Strakonice
  • КамАЗ
  • БЗА
  • ЧМЗ
  • BMZ
Новости
Все новости
25 марта 2024
Флагманский седельный тягач «Валдай 45» на выставке «TransRussia»
10 марта 2024
Современные автобусы «CITYMAX 9» и ЛиАЗ-5292 CNG
25 февраля 2024
Серийное производство средних дизельных двигателей повышенной мощности от ЯМЗ
Статьи
Все статьи
Датчики двигателя: за что они отвечают, признаки неисправности и как не прогадать с выбором
Двигатели ЯМЗ-534: история, технические характеристики и области применения
Двигатели ЯМЗ 650: углублённый технический обзор и история
Компания
О компании
Реквизиты
Новости
Политика
Магазины
Информация
Условия оплаты
Условия доставки
Гарантия на товар
Обмен и возврат товара
Помощь
Как оформить заказ
Полезные статьи
Бренды
Пункты выдачи
Оставайтесь на связи
  • Вконтакте
  • YouTube
  • Одноклассники
  • Google Plus
Увидели ошибку?
Выделите, нажав Ctrl + Enter
Наши контакты
8-800-700-35-68
sales@din76.ru
г. Ярославль, Ленинградский пр-т 33, ТЦ "ОМЕГА"
2026 © ООО «Динамика 76» - Все права защищены ООО "Динамика 76"
Предложения на сайте не являются публичной офертой.
На сайте обнаружена ошибка

Текст с ошибкой