Избранное 0 Корзина 0 Личный кабинет
logo
Каталог
Каталог
  • Справочник
    • Грузовые автомобили
    • Автобусы
    • Сельхозтехника
    • Спецтехника
    • Двигатели
  • Доставка
  • Оплата
  • О компании
    • Реквизиты
    • Магазины
    • Оплата
    • Доставка
    • Лицензии и сертификаты
    • Новости
    • Вакансии
  • Контакты
Отправить заявку
Личный кабинет
8 (800) 700-35-68
sales@din76.ru
Избранное 0 Корзина 0
8 (800) 700-35-68
Оптовый прайс-лист
Каталог
  • Двигатели
  • Запчасти WEICHAI
  • Запчасти ЯМЗ, ТМЗ (V-образные)
  • Запчасти ЯМЗ-534, ЯМЗ-536
  • Запчасти ЯМЗ-650, ЯМЗ-651, DCi-11
  • Топливная аппаратура
  • Запчасти УРАЛ
  • Запчасти МАЗ
  • Запчасти КамАЗ
  • Запчасти ММЗ
  • Ремни
Автокаталог (справочник)
  • Доставка
  • Оплата
  • О компании
  • Контакты
8 (800) 700-35-68
Написать в Whatsapp
sales@din76.ru
Динамика 76
Меню  
  • Каталог
    • Двигатели  
      • Двигатели ТМЗ  
        • Двигатели ТМЗ для автомобилей
        • Двигатели ТМЗ для тракторов
        • Специальные двигатели ТМЗ
        • Промышленные двигатели ТМЗ
      • Двигатели ЯМЗ  
        • ЯМЗ 236
        • ЯМЗ 238
        • ЯМЗ 240
        • ЯМЗ 751
        • ЯМЗ 840
        • ЯМЗ 850
        • ЯМЗ 656
        • ЯМЗ 658
        • ЯМЗ 534
        • ЯМЗ 536
        • ЯМЗ 650
        • Двигатели ЯМЗ для электростанций
      • Двигатели КАМАЗ
      • Двигатели ММЗ
      • Двигатели индивидуальной сборки
      • Комплекты переоборудования
    • Запчасти WEICHAI  
      • Основные запчасти двигателя  
        • Клапаны и толкатели
        • Шатуны
        • Вал коленчатый и маховик
        • Вал распределительный
        • Цилиндро-поршневая группа
      • Система питания  
        • Форсунки
        • Турбокомпрессор
      • Система смазки  
        • Насос масляный
      • Головка блока
      • Ремкомплекты
      • Система охлаждения  
        • Насос водяной
        • Муфта вязкостная и крыльчатка
      • Фильтры
      • Электрооборудование  
        • Генератор
        • Стартер
    • Запчасти ЯМЗ, ТМЗ (V-образные)  
      • Основные запчасти двигателя  
        • Блок двигателя и комплектующие
        • Валы распределительные и клапаны
        • Головка блока и комплектующие
        • Цилиндро-поршневая группа
        • Маховики и комплектующие
        • Валы коленчатые и комплектующие
        • Шатуны и комплектующие
      • Система питания  
        • Коллекторы и патрубки
        • Топливные трубопроводы
        • Турбокомпрессор
        • Топливные фильтры
      • Электрооборудование двигателя
      • Система охлаждения  
        • Вязкостные муфты и крыльчатки
        • Приводы вентилятора
        • Водяные насосы
        • Водяные трубы и термостаты
      • Коробки переключения передач  
        • 8 Ступенчатые КПП
        • 5 Ступенчатые КПП
        • 9 Ступенчатые КПП
        • Запасные части КПП ЯМЗ, ТМЗ
      • Система смазки  
        • Теплообменник и комплектующие
        • Масляные насосы
        • Фильтры масляные (ФГОМ, ФЦОМ)
      • Сцепление  
        • Запасные части механизма сцепления
        • Муфты (подшипники выжимные)
        • Корзины (диски нажимные)
        • Диски ведомые
      • Прочие запчасти двигателя  
        • Ремкомплекты
        • Привод агрегатов
        • Натяжные устройства
        • Трубки
    • Запчасти ЯМЗ-534, ЯМЗ-536  
      • Основные запчасти двигателя  
        • Цилиндро-поршневая группа
        • Головка блока цилиндров и комплектующие
        • Блок цилиндров и комплектующие
        • Вал коленчатый и маховик
        • Вал распределительный
        • Клапаны и толкатели
        • ГУР (Гидроусилитель руля)
        • Система рециркуляции отработавших газов
        • Выпускной коллектор
      • Система питания  
        • Коллекторы и патрубки
        • Топливные фильтры
        • Турбокомпрессор
        • Топливные трубопроводы
      • Система смазки  
        • Масляный картер поддон
        • Масляный насос
        • Теплообменник /Водо-масляный радиатор
        • Фильтры масляные (ФГОМ, ФЦОМ)
      • Пневмокомпрессор и натяжное
      • Система охлаждения  
        • Водяной насос
        • Водяные трубы и патрубки
        • Муфты вязкостные, приводы, крыльчатки
      • Ремкомплекты
      • Сцепление
      • Электрооборудование
    • Запчасти ЯМЗ-650, ЯМЗ-651, DCi-11  
      • Основные запчасти двигателя  
        • Цилиндро-поршневая группа
        • Головка блока цилиндров и комплектующие
        • Блок цилиндров и комплектующие
        • Вал коленчатый и маховик
        • Выпускной коллектор
        • Вал распределительный
        • Клапаны и толкатели
        • ГУР (Гидроусилитель руля)
        • Система рециркуляции отработавших газов
      • Система питания  
        • Коллекторы и патрубки
        • Топливные трубопроводы
        • Топливные фильтры
        • Турбокомпрессор
      • Система смазки  
        • Масляный картер / поддон
        • Масляный насос
        • Теплообменник / Водо-масляный радиатор
        • Фильтры масляные (ФГОМ, ФЦОМ)
      • Система охлаждения  
        • Водяной насос
        • Водяные трубы и патрубки
        • Муфты вязкостные, приводы, крыльчатки
      • Ремкомплекты
      • Пневмокомпрессор и натяжное
      • Электрооборудование
      • Сцепление
    • Топливная аппаратура  
      • ЯЗДА  
        • Распылители
        • ТНВД
        • Форсунки
        • Топливный насос низкого давления
        • Пары плунжерные
        • Муфта опережения впрыска топлива
        • Запчасти и комплектующие ТНВД
      • НЗТА
      • АЗПИ  
        • Распылители
        • Форсунки
      • BOSCH
    • Запчасти УРАЛ  
      • Трансмиссия  
        • Коробка раздаточная
        • Передача карданная
        • Мост задний
        • Мост передний (ведущий)
        • Мост средний (промежуточный)
      • Кузов  
        • Дверь кабины
        • Капот, крылья, облицовка радиатора
        • Окно ветровое и заднее
        • Отопление и вентиляция кабины
        • Кабина
      • Механизмы управления  
        • Управление рулевое
        • Тормоза
      • Дополнительное оборудование  
        • Отбор мощности
        • Устройство седельное
      • Электрооборудование
      • Ходовая часть  
        • Колеса и ступицы
        • Ось передняя
        • Подвеска автомобиля
        • Рама
    • Запчасти МАЗ  
      • Трансмиссия  
        • Мост задний
        • Мост передний (ведущий)
        • Передача карданная
        • Мост средний (промежуточный)
      • Кузов  
        • Кабина
        • Дверь кабины
        • Детали основания кабины
        • Окно ветровое и заднее
        • Платформа
      • Механизмы управления  
        • Тормоза
        • Управление рулевое
      • Ходовая часть  
        • Колеса и ступицы
        • Ось передняя
        • Подвеска автомобиля
        • Рама
    • Запчасти КамАЗ  
      • Кузов  
        • Кабина
        • Капот, крылья, облицовка радиатора
        • Дверь кабины
        • Платформа
        • Окно ветровое и заднее
        • Устройство подъемное и опрокидывающее
        • Сиденье
        • Крыша кабины (крыша кузова)
        • Отопление и вентиляция кабины
      • Трансмиссия  
        • Коробка передач
        • Коробка раздаточная
        • Мост задний
        • Сцепление
        • Мост средний (промежуточный)
        • Передача карданная
        • Мост передний (ведущий)
      • Двигатель  
        • Основные запчасти двигателя
        • Система охлаждения
        • Система питания
        • Система смазки
      • Дополнительное оборудование  
        • Отбор мощности
        • Устройство седельное
      • Ходовая часть  
        • Подвеска автомобиля
        • Рама
        • Колеса и ступицы
        • Ось передняя
      • Механизмы управления  
        • Тормоза
        • Управление рулевое
      • Электрооборудование
    • Запчасти ММЗ
    • Ремни
  • Справочник
    • Грузовые автомобили
    • Автобусы
    • Сельхозтехника
    • Спецтехника
    • Двигатели
  • Как купить
    • Условия оплаты
    • Условия доставки
    • Гарантия на товар
    • Пункты выдачи
  • Услуги
    • Капитальный ремонт двигателей ЯМЗ
  • Акции
  • Статьи
  • Контакты
  • Компания
    • Реквизиты
    • Магазины
    • Оплата
    • Доставка
    • Лицензии и сертификаты
    • Новости
    • Вакансии
Избранное 0 Корзина 0
8-800-700-35-68

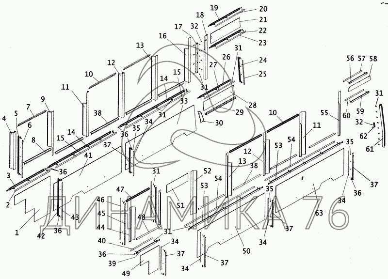
Обивка внутренняя правой и левой боковин на ПАЗ-4230 (до 2005 г.)

Справочник
Главная
-
Автокаталог
-
Автобусы
-
ПАЗ
-
ПАЗ-4230
Справочный каталог

Обивка внутренняя правой и левой боковин — ПАЗ-4230:

1 2 3 4 5 6 7 8 9 10 10 11 11 12 12 13 13 14 14 15 15 16 17 18 18 19 20 21 21 22 22 23 23 24 25 26 27 28 28 29 30 31 31 31 31 31 31 32 32 33 33 34 34 34 34 34 35 35 35 36 36 36 36 36 37 37 37 37 37 38 38 39 40 41 41 42 43 44 45 46 47 48 49 49 50 50 51 52 53 53 53 54 54 54 55 56 57 58 58 59 60 61 62 63 63
в наличии
нет в наличии
масштаб

В наличии
Нет в наличии

Перечень комплектующих от Обивка внутренняя правой и левой боковин на ПАЗ-4230

Схемы запчастей предназначены для справочных целей! Мы продаем не все запчасти от Обивка внутренняя правой и левой боковин на ПАЗ-4230, представленные в этом списке.
Наличие на складах по деталям с ценой смотрите в карточке товара.
1
1
Артикул: 4230-5402040
нет в наличии
Панель левой боковины задняя
Количество на схеме: 1
Информация
Панель левой боковины задняя
Количество
1
Модель
4230
Группа
Боковина кузова
Подгруппа
Обивка боковины кузова
Порядковый номер детали
040
2
2
Артикул: 4230-5402104
нет в наличии
Кант штапика крепления панели левой боковины задний
Количество на схеме: 1
Информация
Кант штапика крепления панели левой боковины задний
Количество
1
Примечание
30
Модель
4230
Группа
Боковина кузова
Подгруппа
Обивка боковины кузова
Порядковый номер детали
104
3
3
Артикул: 4230-5702103
нет в наличии
Штапик крепления панели левой боковины задний
Количество на схеме: 1
Информация
Штапик крепления панели левой боковины задний
Количество
1
Примечание
28
Модель
4230
Группа
Крыша кабины (кузова)
Подгруппа
Обивка крыши внутренняя
Порядковый номер детали
103
4
4
Артикул: 4230-5402238
нет в наличии
Накладка левого заднего окна внутренняя вертикальная левая
Количество на схеме: 1
Информация
Накладка левого заднего окна внутренняя вертикальная левая
Количество
1
Модель
4230
Группа
Боковина кузова
Подгруппа
Обивка боковины кузова
Порядковый номер детали
238
5
5
Артикул: 4230-5402096
нет в наличии
Штапик крепления задней панели вертикальный
Количество на схеме: 2
Информация
Штапик крепления задней панели вертикальный
Количество
2
Примечание
28
Модель
4230
Группа
Боковина кузова
Подгруппа
Обивка боковины кузова
Порядковый номер детали
096
6
6
Артикул: 4230-5402097
нет в наличии
Кант штапика крепления задней панели вертикальный
Количество на схеме: 2
Информация
Кант штапика крепления задней панели вертикальный
Количество
2
Примечание
30
Модель
4230
Группа
Боковина кузова
Подгруппа
Обивка боковины кузова
Порядковый номер детали
097
7
7
Артикул: 4230-5402230
нет в наличии
Накладка левого заднего окна внутренняя горизонтальная верхняя
Количество на схеме: 1
Информация
Накладка левого заднего окна внутренняя горизонтальная верхняя
Количество
1
Модель
4230
Группа
Боковина кузова
Подгруппа
Обивка боковины кузова
Порядковый номер детали
230
8
8
Артикул: 4230-5402234
нет в наличии
Накладка левого заднего окна внутренняя горизонтальная нижняя
Количество на схеме: 1
Информация
Накладка левого заднего окна внутренняя горизонтальная нижняя
Количество
1
Модель
4230
Группа
Боковина кузова
Подгруппа
Обивка боковины кузова
Порядковый номер детали
234
9
9
Артикул: 4230-5402239
нет в наличии
Накладка левого заднего окна внутренняя вертикальная правая
Количество на схеме: 1
Информация
Накладка левого заднего окна внутренняя вертикальная правая
Количество
1
Модель
4230
Группа
Боковина кузова
Подгруппа
Обивка боковины кузова
Порядковый номер детали
239
10
10
Артикул: 4230-5402225
нет в наличии
Накладка среднего окна внутренняя горизонтальная верхняя
Количество на схеме: 4
Информация
Накладка среднего окна внутренняя горизонтальная верхняя
Количество
4
Модель
4230
Группа
Боковина кузова
Подгруппа
Обивка боковины кузова
Порядковый номер детали
225
11
11
Артикул: 4230-5402229
нет в наличии
Накладка стойки окна внутренняя вертикальная левая
Количество на схеме: 2
Информация
Накладка стойки окна внутренняя вертикальная левая
Количество
2
Модель
4230
Группа
Боковина кузова
Подгруппа
Обивка боковины кузова
Порядковый номер детали
229
12
12
Артикул: 4230-5402232
нет в наличии
Накладка стойки окна внутренняя вертикальная
Количество на схеме: 2
Информация
Накладка стойки окна внутренняя вертикальная
Количество
2
Модель
4230
Группа
Боковина кузова
Подгруппа
Обивка боковины кузова
Порядковый номер детали
232
13
13
Артикул: 4230-5402228-10
нет в наличии
Накладка стойки окна внутренняя вертикальная правая
Количество на схеме: 2
Информация
Накладка стойки окна внутренняя вертикальная правая
Количество
2
Модель
4230
Группа
Боковина кузова
Подгруппа
Обивка боковины кузова
Порядковый номер детали
228
Дополнительно
Не взаимозаменяема с деталью, выпущенной ранее под этим же номером
14
14
Артикул: 4230-5402093
нет в наличии
Штапик крепления панелей левой боковины
Количество на схеме: 2
Информация
Штапик крепления панелей левой боковины
Количество
2
Примечание
28
Модель
4230
Группа
Боковина кузова
Подгруппа
Обивка боковины кузова
Порядковый номер детали
093
15
15
Артикул: 4230-5402095
нет в наличии
Кант штапика крепления панелей левой боковины
Количество на схеме: 1
Информация
Кант штапика крепления панелей левой боковины
Количество
1
Примечание
30
Модель
4230
Группа
Боковина кузова
Подгруппа
Обивка боковины кузова
Порядковый номер детали
095
16
16
Артикул: 4230-5402242
нет в наличии
Накладка левого переднего окна вертикальная левая
Количество на схеме: 1
Информация
Накладка левого переднего окна вертикальная левая
Количество
1
Модель
4230
Группа
Боковина кузова
Подгруппа
Обивка боковины кузова
Порядковый номер детали
242
17
17
Артикул: 4230-5402252
нет в наличии
Уголок крепления накладки перегородки
Количество на схеме: 1
Информация
Уголок крепления накладки перегородки
Количество
1
Модель
4230
Группа
Боковина кузова
Подгруппа
Обивка боковины кузова
Порядковый номер детали
252
18
18
Артикул: 4230-110-5402256
нет в наличии
Накладка перегородки
Количество на схеме: 2
Информация
Накладка перегородки
Количество
2
Модель
4230-110
Группа
Боковина кузова
Подгруппа
Обивка боковины кузова
Порядковый номер детали
256
18
18
Артикул: 4230-5402256
нет в наличии
Накладка перегородки
Количество на схеме: 1
Информация
Накладка перегородки
Количество
1
Модель
4230
Группа
Боковина кузова
Подгруппа
Обивка боковины кузова
Порядковый номер детали
256
19
19
Артикул: 4230-110-5402105
нет в наличии
Штапик крепления панели передней верхней левой горизонтальный
Количество на схеме: 1
Информация
Штапик крепления панели передней верхней левой горизонтальный
Количество
1
Примечание
28
Модель
4230-110
Группа
Боковина кузова
Подгруппа
Обивка боковины кузова
Порядковый номер детали
105
20
20
Артикул: 4230-110-5402106
нет в наличии
Кант штапика панели передней верхний левый горизонтальный
Количество на схеме: 1
Информация
Кант штапика панели передней верхний левый горизонтальный
Количество
1
Примечание
30
Модель
4230-110
Группа
Боковина кузова
Подгруппа
Обивка боковины кузова
Порядковый номер детали
106
21
21
Артикул: 4230-110-5402190
нет в наличии
Панель передняя верхняя левая
Количество на схеме: 1
Информация
Панель передняя верхняя левая
Количество
1
Модель
4230-110
Группа
Боковина кузова
Подгруппа
Обивка боковины кузова
Порядковый номер детали
190
21
21
Артикул: 4230-5402160
нет в наличии
Панель передняя верхняя левая
Количество на схеме: 1
Информация
Панель передняя верхняя левая
Количество
1
Модель
4230
Группа
Боковина кузова
Подгруппа
Обивка боковины кузова
Порядковый номер детали
160
22
22
Артикул: 4230-110-5402101
нет в наличии
Штапик левый задний вертикальный
Количество на схеме: 1
Информация
Штапик левый задний вертикальный
Количество
1
Примечание
28
Модель
4230-110
Группа
Боковина кузова
Подгруппа
Обивка боковины кузова
Порядковый номер детали
101
22
22
Артикул: 4230-5402105
нет в наличии
Штапик крепления панели передней верхней левой горизонтальный
Количество на схеме: 1
Информация
Штапик крепления панели передней верхней левой горизонтальный
Количество
1
Примечание
28
Модель
4230
Группа
Боковина кузова
Подгруппа
Обивка боковины кузова
Порядковый номер детали
105
23
23
Артикул: 4230-110-5402102
нет в наличии
Кант штапика левый задний вертикальный
Количество на схеме: 1
Информация
Кант штапика левый задний вертикальный
Количество
1
Примечание
30
Модель
4230-110
Группа
Боковина кузова
Подгруппа
Обивка боковины кузова
Порядковый номер детали
102
23
23
Артикул: 4230-5402106
нет в наличии
Кант штапика панели передней верхней левой горизонтальный
Количество на схеме: 1
Информация
Кант штапика панели передней верхней левой горизонтальный
Количество
1
Примечание
30
Модель
4230
Группа
Боковина кузова
Подгруппа
Обивка боковины кузова
Порядковый номер детали
106
24
24
Артикул: 4230-5402131
нет в наличии
Штапик передний оконный левый наклонный
Количество на схеме: 1
Информация
Штапик передний оконный левый наклонный
Количество
1
Примечание
28
Модель
4230
Группа
Боковина кузова
Подгруппа
Обивка боковины кузова
Порядковый номер детали
131
25
25
Артикул: 4230-5402133
нет в наличии
Кант штапика передний оконный левый
Количество на схеме: 1
Информация
Кант штапика передний оконный левый
Количество
1
Примечание
30
Модель
4230
Группа
Боковина кузова
Подгруппа
Обивка боковины кузова
Порядковый номер детали
133
26
26
Артикул: 4230-110-5402136
нет в наличии
Штапик крепления панели подоконный
Количество на схеме: 1
Информация
Штапик крепления панели подоконный
Количество
1
Примечание
28
Модель
4230-110
Группа
Боковина кузова
Подгруппа
Обивка боковины кузова
Порядковый номер детали
136
27
27
Артикул: 4230-110-5402137
нет в наличии
Кант штапика крепления панели подоконный
Количество на схеме: 1
Информация
Кант штапика крепления панели подоконный
Количество
1
Примечание
30
Модель
4230-110
Группа
Боковина кузова
Подгруппа
Обивка боковины кузова
Порядковый номер детали
137
28
28
Артикул: 4230-110-5402506
нет в наличии
Панель окна водителя нижняя
Количество на схеме: 1
Информация
Панель окна водителя нижняя
Количество
1
Модель
4230-110
Группа
Боковина кузова
Подгруппа
Обивка боковины кузова
Порядковый номер детали
506
28
28
Артикул: 4230-5402162
нет в наличии
Панель окна водителя нижняя
Количество на схеме: 1
Информация
Панель окна водителя нижняя
Количество
1
Модель
4230
Группа
Боковина кузова
Подгруппа
Обивка боковины кузова
Порядковый номер детали
162
29
29
Артикул: 4230-110-5402160-10
нет в наличии
Уголок крепления панели подоконный
Количество на схеме: 1
Информация
Уголок крепления панели подоконный
Количество
1
Примечание
29
Модель
4230-110
Группа
Боковина кузова
Подгруппа
Обивка боковины кузова
Порядковый номер детали
160
Дополнительно
Не взаимозаменяема с деталью, выпущенной ранее под этим же номером
30
30
Артикул: 4230-5402258
нет в наличии
Накладка перегородки нижняя
Количество на схеме: 1
Информация
Накладка перегородки нижняя
Количество
1
Модель
4230
Группа
Боковина кузова
Подгруппа
Обивка боковины кузова
Порядковый номер детали
258
31
31
Артикул: 241820-П29
нет в наличии
Винт М4х18
Количество на схеме: 524
Информация
Винт М4х18
Количество
524
Покрытие
цинкование и пассивирование (цинковое с хроматированием)
32
32
Артикул: 224598-П29
нет в наличии
Винт М5х0,8х14 крепления ручки
Количество на схеме: 6
Информация
Винт М5х0,8х14 крепления ручки
Количество
6
Покрытие
цинкование и пассивирование (цинковое с хроматированием)
33
33
Артикул: 4230-03-5402032
нет в наличии
Панель левой боковины передняя
Количество на схеме: 1
Информация
Панель левой боковины передняя
Количество
1
Модель
4230-03
Группа
Боковина кузова
Подгруппа
Обивка боковины кузова
Порядковый номер детали
032
33
33
Артикул: 4230-5402030
нет в наличии
Панель левой боковины передняя
Количество на схеме: 1
Информация
Панель левой боковины передняя
Количество
1
Модель
4230
Группа
Боковина кузова
Подгруппа
Обивка боковины кузова
Порядковый номер детали
030
34
34
Артикул: 4230-5402092
нет в наличии
Кант штапика крепления панелей боковины вертикальный
Количество на схеме: 2
Информация
Кант штапика крепления панелей боковины вертикальный
Количество
2
Примечание
30
Модель
4230
Группа
Боковина кузова
Подгруппа
Обивка боковины кузова
Порядковый номер детали
092
35
35
Артикул: 241822-П29
нет в наличии
Винт М4х25
Количество на схеме: 120
Информация
Винт М4х25
Количество
120
Покрытие
цинкование и пассивирование (цинковое с хроматированием)
36
36
Артикул: 3205-5402208
нет в наличии
Наконечник штапика
Количество на схеме: 65
Информация
Наконечник штапика
Количество
65
Модель
3205
Группа
Боковина кузова
Подгруппа
Обивка боковины кузова
Порядковый номер детали
208
37
37
Артикул: 4230-5402090
нет в наличии
Штапик крепления панелей боковины вертикальный
Количество на схеме: 2
Информация
Штапик крепления панелей боковины вертикальный
Количество
2
Примечание
35
Модель
4230
Группа
Боковина кузова
Подгруппа
Обивка боковины кузова
Порядковый номер детали
090
38
38
Артикул: 4230-5402224
нет в наличии
Накладка окна внутренняя горизонтальная нижняя
Количество на схеме: 8
Информация
Накладка окна внутренняя горизонтальная нижняя
Количество
8
Модель
4230
Группа
Боковина кузова
Подгруппа
Обивка боковины кузова
Порядковый номер детали
224
39
39
Артикул: 4230-5402110
нет в наличии
Штапик крепления задней панели правой боковины
Количество на схеме: 1
Информация
Штапик крепления задней панели правой боковины
Количество
1
Примечание
28
Модель
4230
Группа
Боковина кузова
Подгруппа
Обивка боковины кузова
Порядковый номер детали
110
40
40
Артикул: 4230-5402112
нет в наличии
Кант штапика крепления задней панели правой боковины
Количество на схеме: 1
Информация
Кант штапика крепления задней панели правой боковины
Количество
1
Примечание
30
Модель
4230
Группа
Боковина кузова
Подгруппа
Обивка боковины кузова
Порядковый номер детали
112
41
41
Артикул: 4230-03-5402036
нет в наличии
Панель левой боковины средняя
Количество на схеме: 1
Информация
Панель левой боковины средняя
Количество
1
Модель
4230-03
Группа
Боковина кузова
Подгруппа
Обивка боковины кузова
Порядковый номер детали
036
41
41
Артикул: 4230-5402034
нет в наличии
Панель левой боковины средняя
Количество на схеме: 1
Информация
Панель левой боковины средняя
Количество
1
Модель
4230
Группа
Боковина кузова
Подгруппа
Обивка боковины кузова
Порядковый номер детали
034
42
42
Артикул: 4230-5402107
нет в наличии
Штапик крепления панели левой боковины задний вертикальный
Количество на схеме: 1
Информация
Штапик крепления панели левой боковины задний вертикальный
Количество
1
Примечание
35
Модель
4230
Группа
Боковина кузова
Подгруппа
Обивка боковины кузова
Порядковый номер детали
107
43
43
Артикул: 4230-5402108
нет в наличии
Кант штапика крепления панели левой боковины задний вертикальный
Количество на схеме: 1
Информация
Кант штапика крепления панели левой боковины задний вертикальный
Количество
1
Примечание
30
Модель
4230
Группа
Боковина кузова
Подгруппа
Обивка боковины кузова
Порядковый номер детали
108
44
44
Артикул: 4230-5402218
нет в наличии
Накладка правого заднего окна внутренняя вертикальная правая
Количество на схеме: 1
Информация
Накладка правого заднего окна внутренняя вертикальная правая
Количество
1
Модель
4230
Группа
Боковина кузова
Подгруппа
Обивка боковины кузова
Порядковый номер детали
218
45
45
Артикул: 4230-5402096
нет в наличии
Штапик крепления задней панели вертикальный
Количество на схеме: 2
Информация
Штапик крепления задней панели вертикальный
Количество
2
Примечание
28
Модель
4230
Группа
Боковина кузова
Подгруппа
Обивка боковины кузова
Порядковый номер детали
096
46
46
Артикул: 4230-5402097
нет в наличии
Кант штапика крепления задней панели вертикальный
Количество на схеме: 2
Информация
Кант штапика крепления задней панели вертикальный
Количество
2
Примечание
30
Модель
4230
Группа
Боковина кузова
Подгруппа
Обивка боковины кузова
Порядковый номер детали
097
47
47
Артикул: 4230-5402200
нет в наличии
Накладка правого заднего окна внутренняя горизонтальная верхняя
Количество на схеме: 1
Информация
Накладка правого заднего окна внутренняя горизонтальная верхняя
Количество
1
Модель
4230
Группа
Боковина кузова
Подгруппа
Обивка боковины кузова
Порядковый номер детали
200
48
48
Артикул: 4230-5402206
нет в наличии
Накладка правого заднего окна внутренняя горизонтальная нижняя
Количество на схеме: 1
Информация
Накладка правого заднего окна внутренняя горизонтальная нижняя
Количество
1
Модель
4230
Группа
Боковина кузова
Подгруппа
Обивка боковины кузова
Порядковый номер детали
206
49
49
Артикул: 4230-110-5402048
нет в наличии
Панель правой боковины задняя
Количество на схеме: 1
Информация
Панель правой боковины задняя
Количество
1
Модель
4230-110
Группа
Боковина кузова
Подгруппа
Обивка боковины кузова
Порядковый номер детали
048
49
49
Артикул: 4230-5402046
нет в наличии
Панель правой боковины задняя
Количество на схеме: 1
Информация
Панель правой боковины задняя
Количество
1
Модель
4230
Группа
Боковина кузова
Подгруппа
Обивка боковины кузова
Порядковый номер детали
046
50
50
Артикул: 4230-03-5402028
нет в наличии
Панель правой боковины средняя
Количество на схеме: 1
Информация
Панель правой боковины средняя
Количество
1
Модель
4230-03
Группа
Боковина кузова
Подгруппа
Обивка боковины кузова
Порядковый номер детали
028
50
50
Артикул: 4230-5402026
нет в наличии
Панель правой боковины средняя
Количество на схеме: 1
Информация
Панель правой боковины средняя
Количество
1
Модель
4230
Группа
Боковина кузова
Подгруппа
Обивка боковины кузова
Порядковый номер детали
026
51
51
Артикул: 4230-5402156
нет в наличии
Панель задняя верхняя правая
Количество на схеме: 1
Информация
Панель задняя верхняя правая
Количество
1
Модель
4230
Группа
Боковина кузова
Подгруппа
Обивка боковины кузова
Порядковый номер детали
156
52
52
Артикул: 4230-5402222
нет в наличии
Накладка задней двери вертикальная левая
Количество на схеме: 1
Информация
Накладка задней двери вертикальная левая
Количество
1
Модель
4230
Группа
Боковина кузова
Подгруппа
Обивка боковины кузова
Порядковый номер детали
222
53
53
Артикул: 4230-110-5402098
нет в наличии
Штапик крепления панелей правой боковины
Количество на схеме: 2
Информация
Штапик крепления панелей правой боковины
Количество
2
Примечание
28
Модель
4230-110
Группа
Боковина кузова
Подгруппа
Обивка боковины кузова
Порядковый номер детали
098
53
53
Артикул: 4230-5402098
нет в наличии
Штапик крепления панелей правой боковины
Количество на схеме: 2
Информация
Штапик крепления панелей правой боковины
Количество
2
Примечание
28
Модель
4230
Группа
Боковина кузова
Подгруппа
Обивка боковины кузова
Порядковый номер детали
098
54
54
Артикул: 4230-110-5402100
нет в наличии
Кант штапика крепления панелей правой боковины
Количество на схеме: 2
Информация
Кант штапика крепления панелей правой боковины
Количество
2
Примечание
30
Модель
4230-110
Группа
Боковина кузова
Подгруппа
Обивка боковины кузова
Порядковый номер детали
100
54
54
Артикул: 4230-5402100
нет в наличии
Кант штапика крепления панелей правой боковины
Количество на схеме: 2
Информация
Кант штапика крепления панелей правой боковины
Количество
2
Примечание
30
Модель
4230
Группа
Боковина кузова
Подгруппа
Обивка боковины кузова
Порядковый номер детали
100
55
55
Артикул: 4230-5402226
нет в наличии
Накладка передней двери вертикальная правая
Количество на схеме: 1
Информация
Накладка передней двери вертикальная правая
Количество
1
Модель
4230
Группа
Боковина кузова
Подгруппа
Обивка боковины кузова
Порядковый номер детали
226
56
56
Артикул: 4230-110-5402134
нет в наличии
Штапик над пассажирской дверью верхний
Количество на схеме: 1
Информация
Штапик над пассажирской дверью верхний
Количество
1
Примечание
28
Модель
4230-110
Группа
Боковина кузова
Подгруппа
Обивка боковины кузова
Порядковый номер детали
134
57
57
Артикул: 4230-110-5402135
нет в наличии
Кант штапика над пассажирской дверью верхний
Количество на схеме: 1
Информация
Кант штапика над пассажирской дверью верхний
Количество
1
Примечание
30
Модель
4230-110
Группа
Боковина кузова
Подгруппа
Обивка боковины кузова
Порядковый номер детали
135
58
58
Артикул: 4230-110-5402180
нет в наличии
Панель передняя верхняя правая
Количество на схеме: 1
Информация
Панель передняя верхняя правая
Количество
1
Модель
4230-110
Группа
Боковина кузова
Подгруппа
Обивка боковины кузова
Порядковый номер детали
180
58
58
Артикул: 4230-5402151
нет в наличии
Панель передняя верхняя правая
Количество на схеме: 1
Информация
Панель передняя верхняя правая
Количество
1
Модель
4230
Группа
Боковина кузова
Подгруппа
Обивка боковины кузова
Порядковый номер детали
151
59
59
Артикул: 4230-110-5402158
нет в наличии
Штапик над пассажирской дверью нижний
Количество на схеме: 1
Информация
Штапик над пассажирской дверью нижний
Количество
1
Примечание
28
Модель
4230-110
Группа
Боковина кузова
Подгруппа
Обивка боковины кузова
Порядковый номер детали
158
60
60
Артикул: 4230-110-5402159
нет в наличии
Кант штапика над пассажирской дверью нижний
Количество на схеме: 1
Информация
Кант штапика над пассажирской дверью нижний
Количество
1
Примечание
30
Модель
4230-110
Группа
Боковина кузова
Подгруппа
Обивка боковины кузова
Порядковый номер детали
159
61
61
Артикул: 4230-110-6102058
нет в наличии
Кожух передней стойки пассажирской двери
Количество на схеме: 1
Информация
Кожух передней стойки пассажирской двери
Количество
1
Модель
4230-110
Группа
Дверь кабины (передняя)
Подгруппа
Обивка передней двери
Порядковый номер детали
058
62
62
Артикул: 4230-110-6102059
нет в наличии
Уголок кожуха передней двери
Количество на схеме: 1
Информация
Уголок кожуха передней двери
Количество
1
Модель
4230-110
Группа
Дверь кабины (передняя)
Подгруппа
Обивка передней двери
Порядковый номер детали
059
63
63
Артикул: 4230-03-5402022
нет в наличии
Панель правой боковины передняя
Количество на схеме: 1
Информация
Панель правой боковины передняя
Количество
1
Модель
4230-03
Группа
Боковина кузова
Подгруппа
Обивка боковины кузова
Порядковый номер детали
022
63
63
Артикул: 4230-5402020
нет в наличии
Панель правой боковины передняя
Количество на схеме: 1
Информация
Панель правой боковины передняя
Количество
1
Модель
4230
Группа
Боковина кузова
Подгруппа
Обивка боковины кузова
Порядковый номер детали
020
  • Грузовые автомобили
  • Автобусы
  • Сельхозтехника
  • Спецтехника
  • Двигатели
Получить оптовый прайс-лист
Скачать прайс-лист от 07.05.2026 16:00
Специальное предложение от 07.05.2026 17:00
Производители:


  • WEICHAI
  • Автодизель ПАО (ЯМЗ)
  • Тутаевский МЗ
  • ЯЗДА
  • УралАЗ
  • МАЗ
  • АЗПИ
  • BOSCH
  • ММЗ
  • ШААЗ
  • FEDERAL MOGUL
  • ПРАМО
  • Мотордеталь
  • ТАИМ
  • АвтоКрАЗ
  • БЕЛКАРД
  • CZ Strakonice
  • КамАЗ
  • БЗА
  • ЧМЗ
  • BMZ
Новости
Все новости
25 марта 2024
Флагманский седельный тягач «Валдай 45» на выставке «TransRussia»
10 марта 2024
Современные автобусы «CITYMAX 9» и ЛиАЗ-5292 CNG
25 февраля 2024
Серийное производство средних дизельных двигателей повышенной мощности от ЯМЗ
Статьи
Все статьи
Датчики двигателя: за что они отвечают, признаки неисправности и как не прогадать с выбором
Двигатели ЯМЗ-534: история, технические характеристики и области применения
Двигатели ЯМЗ 650: углублённый технический обзор и история
Компания
О компании
Реквизиты
Новости
Политика
Магазины
Информация
Условия оплаты
Условия доставки
Гарантия на товар
Обмен и возврат товара
Помощь
Как оформить заказ
Полезные статьи
Бренды
Пункты выдачи
Оставайтесь на связи
  • Вконтакте
  • YouTube
  • Одноклассники
  • Google Plus
Увидели ошибку?
Выделите, нажав Ctrl + Enter
Наши контакты
8-800-700-35-68
sales@din76.ru
г. Ярославль, Ленинградский пр-т 33, ТЦ "ОМЕГА"
2026 © ООО «Динамика 76» - Все права защищены ООО "Динамика 76"
Предложения на сайте не являются публичной офертой.
На сайте обнаружена ошибка

Текст с ошибкой